EasyManua.ls Logo

GE CT-9800 - SECTION 9 A - X-RAY ALIGNMENTS FOR HILIGHT DETECTOR SYSTEMS; 9 A-1 Requirements

GE CT-9800
510 pages
Print Icon
To Next Page IconTo Next Page
To Next Page IconTo Next Page
To Previous Page IconTo Previous Page
To Previous Page IconTo Previous Page
Loading...
GE MEDICAL SYSTEMS CT 9800 QUICK SYSTEM
Rev. 12 Direction 18000
6-9A-1
SECTION 9A - X-RAY ALIGNMENTS FOR HILIGHT DETECTOR SYSTEMS
1. This section describes the requirements for X-Ray alignment on a HiLight detector system, position of the
critical components and procedures to achieve the required alignment specifications. The critical components
for alignment are the tube unit, collimator, and the detector. The same procedures are used for functional
check as well as adjustment. Some steps in the adjustment procedure may be omitted on replacement of one
of the three critical components.
2. Tools and materials required for alignment are listed below:
a. Polaroid type 52 film packs.
b Polaroid type 45 film holder (developer for type 52 film).
c. Vernier Caliper 0-6” graduated in 0.005 or 0-15 cm graduated in 0.1mm.
d. Dial indicator 46-195935P1: Graduation 0.001”, range 0.250” scale 0-50-0
e. Masking tape
f. Service hand tools with 3/8 deep socket set an Allen wrench set.
g. Torque wrench; 3/8” socket drive 0-25 ft.lbs.
h. Nut and bolt for dial indicator. 46-198393G1 Bolt; 46-198395P1 Nut.
i. Pocket comparator with reticle. Edscorp No. 41055.
j. 1/8” round steel pin (for ISO center - Craftsman #0 Phillips screwdriver recommended)
k. Radial alignment tools, 46-266595G1. Dial indicator mount 46-278458G1. (Only if a detector installation)
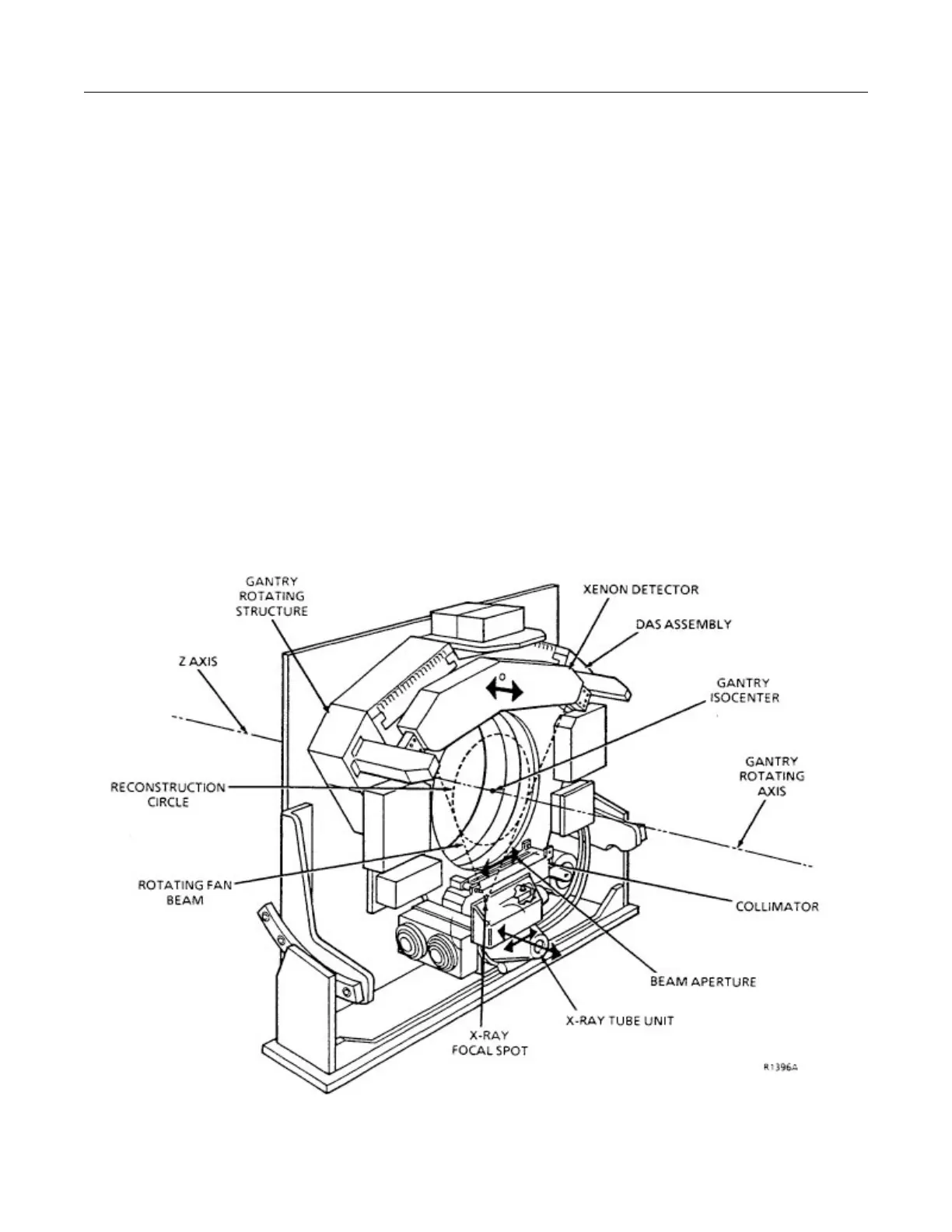
3. All components critical to X-Ray alignment are mounted directly to the rotating gantry structure as shown in
Illustration 6-9A-1. The collimator includes a body-air filter assembly and an adjustable beam defining exit slit.

Table of Contents

Related product manuals