EasyManua.ls Logo

Gefen EXT-AVCINEMAAA - Lipsync Delay Exit and Surround Delay; Exit Lipsync Delay Menu; Surround Delay Adjustment

Gefen EXT-AVCINEMAAA
60 pages
Print Icon
To Next Page IconTo Next Page
To Next Page IconTo Next Page
To Previous Page IconTo Previous Page
To Previous Page IconTo Previous Page
Loading...
3
2
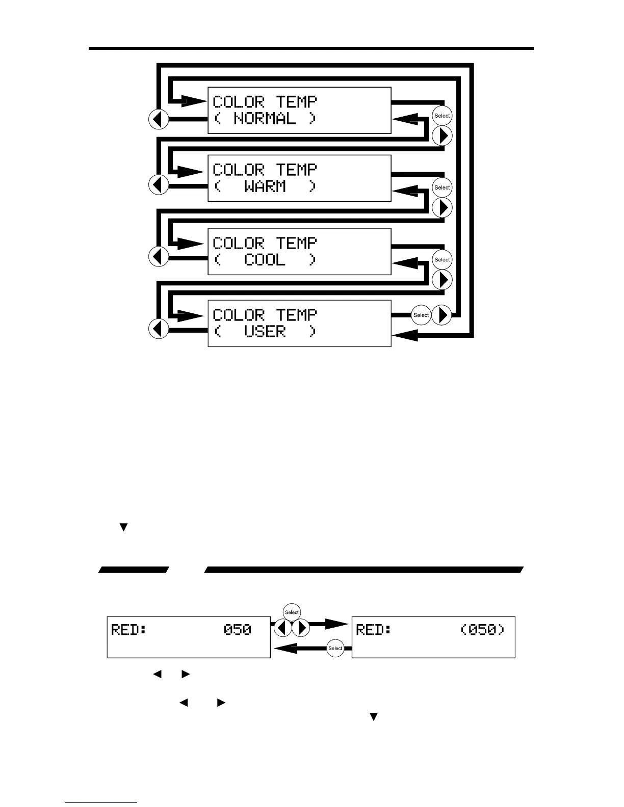
A/V CINEMA SCALER PRO - CONFIGURATIO
N
The preset color temperature settin
g
s are listed below
:
Normal
C
olors
/
white will be neutral. White should not have an overl
y
red
or blue appearance.
War
m
C
olors
/
white will have a sli
g
htl
y
red appearance.
Cool
C
olors
/
white will have a sli
g
htl
y
blue appearance.
U
se
r
User con gured settings
r
O
nce the
U
ser mode is selected, additional options will become available. Use
th
e
button to select the next option. Use the
option to return to the previous
option.
RED
This option will set the amount o
f
red in the output video si
g
nal.
Pr
ess
th
e
or
or
Select buttons to be
g
in ad
j
ustin
g
this option. A < and >
c
haracter will surround the numerical value to si
g
ni
fy
that user ad
j
ustment can
be
g
in. Use the
a
n
d
to ad
j
ust the value o
f
this option. When ad
j
ustments are
c
omplete, press the Select
bu
tt
o
n t
o
sa
v
e
.
U
se the
bu
tt
o
n t
o
se
l
ec
t th
e
n
e
xt
option. Use the
option to return to the previous option.

Table of Contents

Related product manuals