EasyManua.ls Logo

General 90-270 - IDENTIFICATION OF MAIN PARTS AND COMPONENTS; Front View; Rear View

General 90-270
36 pages
Print Icon
To Next Page IconTo Next Page
To Next Page IconTo Next Page
To Previous Page IconTo Previous Page
To Previous Page IconTo Previous Page
Loading...
18” WOOD CUTTING BANDSAW
90-270 or 90-270HD
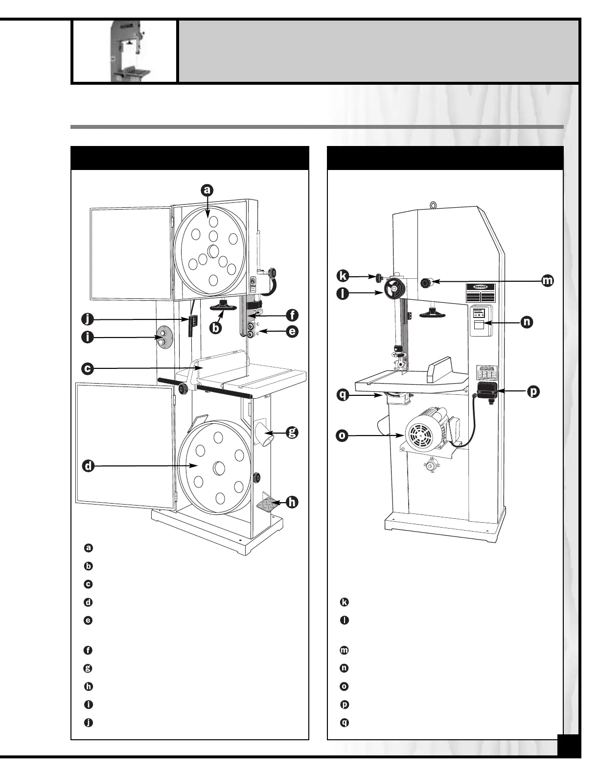
IDENTIFICATION OF MAIN PARTS AND COMPONENTS
FRONT VIEW
UPPER WHEEL
TENSION ADJUSTMENT HAND WHEEL
FENCE
LOWER WHEEL
UPPER BLADE GUIDES AND SUPPORT
BEARING ASSEMBLY
BLADE GUARD
DUST CHUTE
FOOT BRAKE PEDAL
ON/OFF SWITCH
BLADE TENSION INDICATOR
REAR VIEW
BLADE GUARD LOCK KNOB
BLADE GUARD ADJUSTMENT
HAND WHEEL
TRACKING ADJUSTMENT KNOB
SWITCH BOX
MOTOR
ELECTRICAL CONNECTION BOX
TABLE TILT ANGLE INDICATOR
5

Related product manuals