EasyManua.ls Logo

Gilera 633499 - Page 253

Gilera 633499
270 pages
Print Icon
To Next Page IconTo Next Page
To Next Page IconTo Next Page
To Previous Page IconTo Previous Page
To Previous Page IconTo Previous Page
Loading...
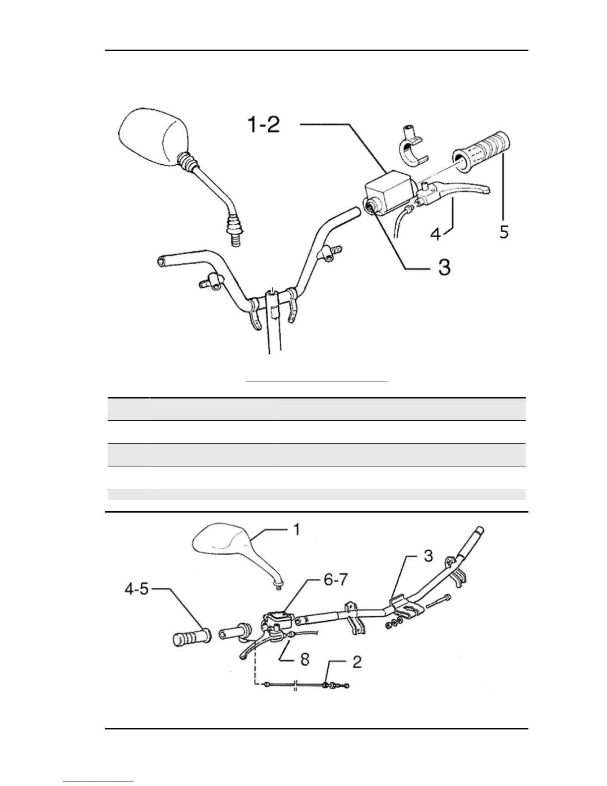
Handlebar components
HANDLEBAR COMPONENTS
Code Action Duration
1 002080 Rear brake oil bleeding sys-
tem - Replacement
2 002067 Rear brake pump - Replace-
ment
3 002020 Rear brake pipes - Removal
and refitting
4 002037 Brake or clutch lever - Re-
placement
5 002071 Left hand grip - Replacement
Runner Purejet Time
TIME - 31

Related product manuals