EasyManua.ls Logo

Gilera 633499 - Page 264

Gilera 633499
270 pages
Print Icon
To Next Page IconTo Next Page
To Next Page IconTo Next Page
To Previous Page IconTo Previous Page
To Previous Page IconTo Previous Page
Loading...
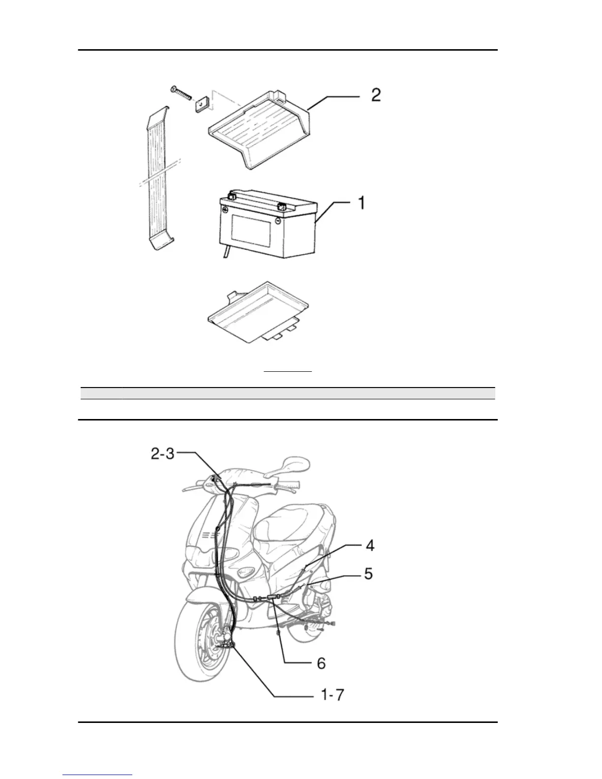
BATTERY
Code Action Duration
1 005007 Battery - Replacement
2 005046 Battery cover - change
Transmissions
Time Runner Purejet
TIME - 42

Related product manuals