EasyManua.ls Logo

Gilera 633499 - Stator, Voltage Regulator, and Starter Motor Checks

Gilera 633499
270 pages
Print Icon
To Next Page IconTo Next Page
To Next Page IconTo Next Page
To Previous Page IconTo Previous Page
To Previous Page IconTo Previous Page
Loading...
Specification Desc./Quantity
19 Headlamp warning light
20 Instrument lighting
Checks and inspections
Battery recharge circuit
The recharge circuit has a three phase generator with permanent magneto.
The generator is directly connected to the voltage regulator. The voltage regulator is connected directly
to the earth and battery positive passing through the 15A protection fuse. Therefore this system does
not have a connection to the key switch. The three phase generator provides a significant recharge
power and at low rpm, a good compromise is obtained between distributed power and idle stability.
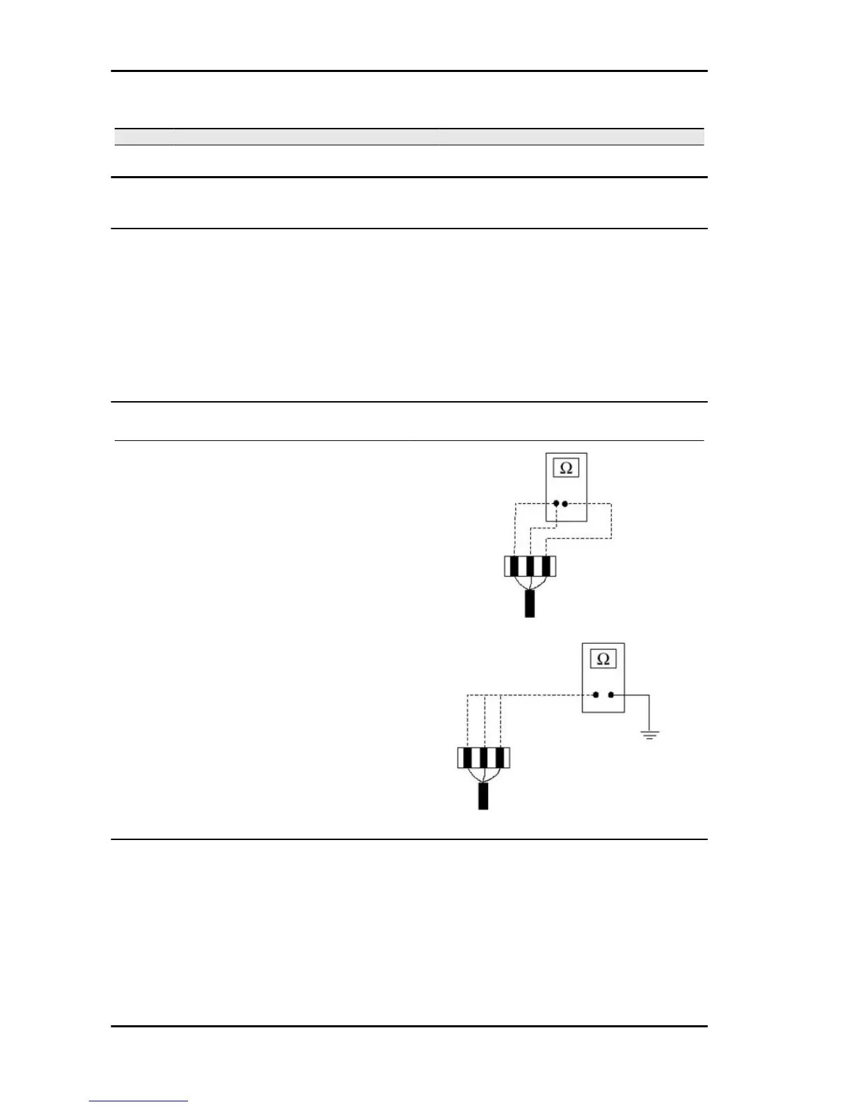
Stator check
Disconnect the connector from the voltage regu-
lator and check for continuity between each yellow
wire with the other two.
Ohm value: 0.7 - 0.9 Ohm.
Also check that each yellow wire is isolated from
the ground.
If non-conforming values are found, repeat the
checks on the stator; if incorrect values continue
to occur, replace the stator or repair the wiring.
Electrical system Runner Purejet
ELE SYS - 8

Related product manuals