EasyManua.ls Logo

Globaljig KOALA - Page 31

Globaljig KOALA
57 pages
Print Icon
To Next Page IconTo Next Page
To Next Page IconTo Next Page
To Previous Page IconTo Previous Page
To Previous Page IconTo Previous Page
Loading...
GLOBALJIG INTERNATIONAL S.r.l.
31
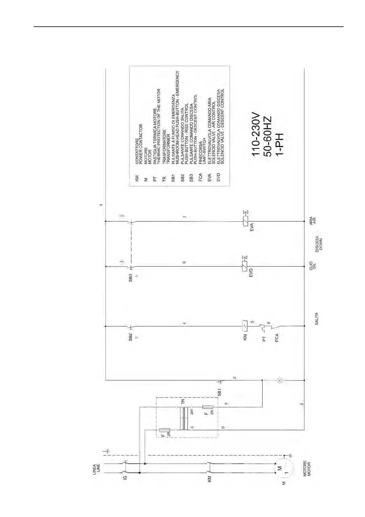
Annex 03

Table of Contents

Related product manuals