EasyManua.ls Logo

Godox V1C - Radio Transmission Shooting; Transmitter Unit (TX) Setup; Receiver Unit (RX) Setup

Godox V1C
205 pages
Print Icon
To Next Page IconTo Next Page
To Next Page IconTo Next Page
To Previous Page IconTo Previous Page
To Previous Page IconTo Previous Page
Loading...
9
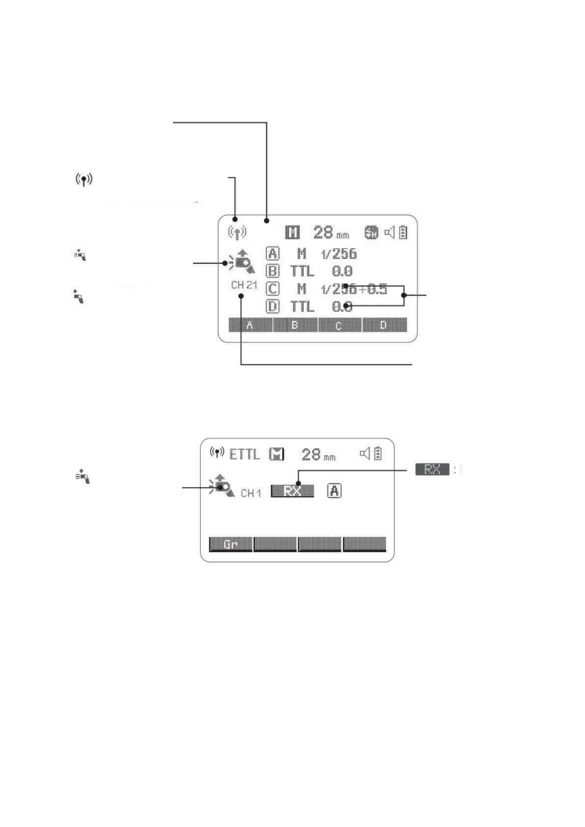
Radio Transmission Shooting
Transmitter Unit (TX)
Receiver Unit (RX)
Note: The flash unit attached to the camera is refereed to as the “Transmitter” and other
flash units controlled wirelessly are referred to as “Receivers”
Flash mode
Radio transmission
wireless shooting
Transmitter unit
flash ON
: Transmitter unit
flash OFF
Channel
Firing group
Receiver
: Receiver icon

Other manuals for Godox V1C

Related product manuals