EasyManua.ls Logo

GPX DZ3 - Key Switch

GPX DZ3
Print Icon
To Next Page IconTo Next Page
To Next Page IconTo Next Page
To Previous Page IconTo Previous Page
To Previous Page IconTo Previous Page
Loading...
11
\
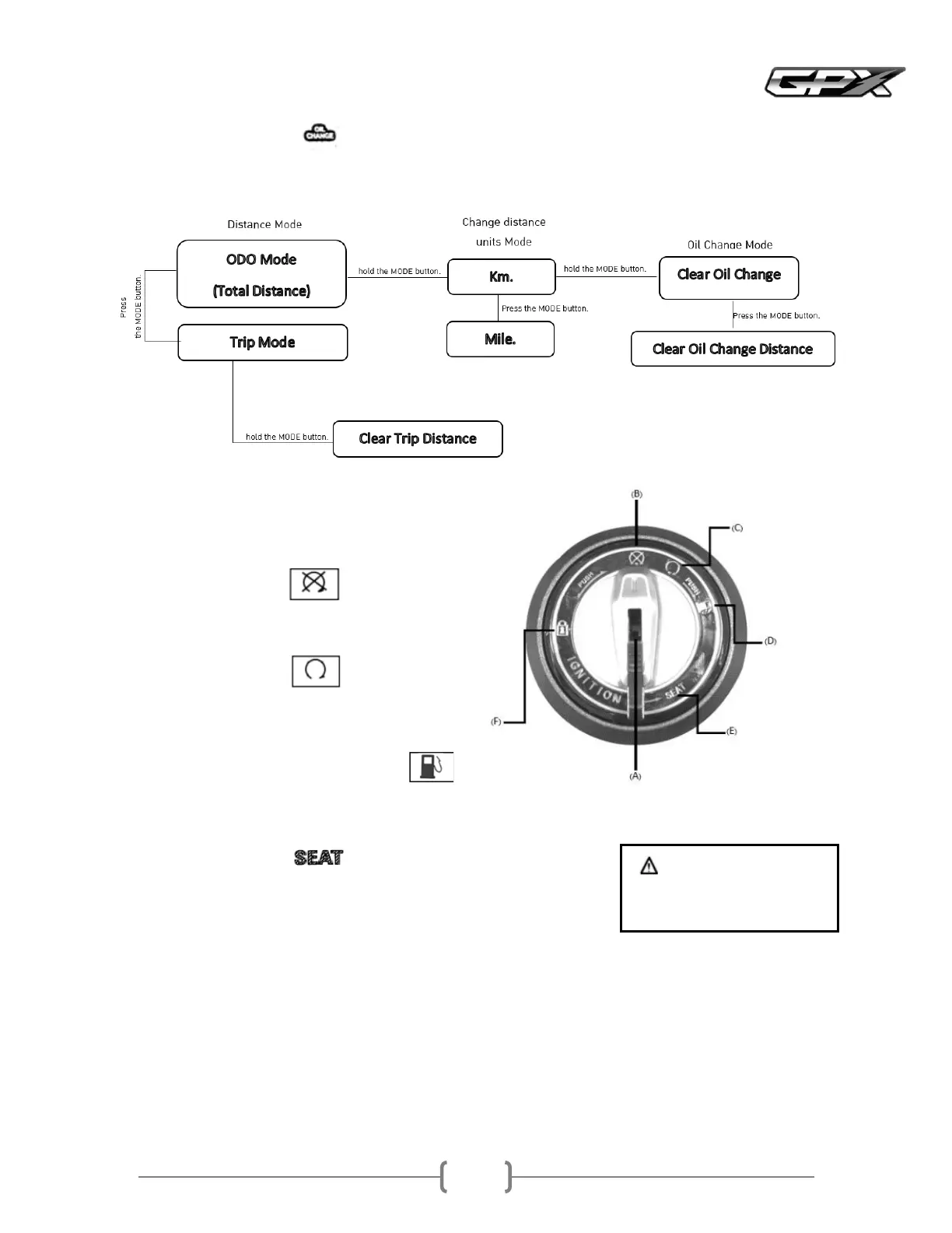
NOil Change Indicator Light
The Oil Change indicator light will light up when the oil change period is reached
Steps to clear the Oil Change indicator light
Key switch
AKeyhole
Insert the starter key into the keyhole to start the engine
BOFFPosition
Turn off the engine from this position
The key can be removed
CONPosition
The engine can be started in this position
The key cannot be removed
DPosition Open the fuel tank cap
How to openFrom the ONposition, press and turn the key or knobto the right clockwiseto open the fuel tank
cap
How to lockPush the fuel filler cap and it will lock automatically
EPosition Open Seat
How to openFrom the OFFposition, turn the key or knob
to the left counterclockwiseto open the seat
How to lockPress the seat firmly, the seat will be locked
automatically
FLOCKposition
Turn the steering wheel to the left and press the key switch or knobdown and turn it slightly to the left
counterclockwiseto the LOCKposition
The steering wheel will be locked in this position
The key can be removed
To unlock, simply turn the key from the LOCKposition to the OFFposition
Warning
Be sure to have your keys with
you before you lock your seat

Table of Contents

Related product manuals