EasyManua.ls Logo

Graco EcoQuip - Pressure Pot

Graco EcoQuip
50 pages
Print Icon
To Next Page IconTo Next Page
To Next Page IconTo Next Page
To Previous Page IconTo Previous Page
To Previous Page IconTo Previous Page
Loading...
Parts
Pressure Pressure
Pressure
Pot Pot
Pot
Pressure Pressure
Pressure
Pot Pot
Pot
Parts Parts
Parts
List List
List
Ref. Ref.
Ref.
Part Part
Part
Description Description
Description
Qty. Qty.
Qty.
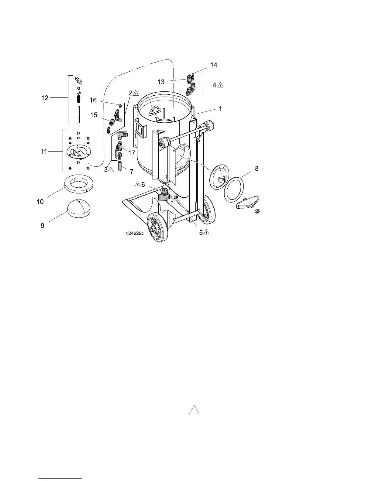
125A056
PRESSUREPOT,blast,
2.0cubicft.
1
224X765KIT,pressurepot,check
valve
1
324X766KIT,pressurepot,dump
valve
1
424X767KIT,pressurepot,
auto-vent
1
5
16G247FITTING,1/2nptx3/8in.
tube
1
6
EQ5148
KIT,pressurepot,unequal
tee
1
7
EQ1360HOSE,clear,braided,3/4
in.ID
3ft
8#
17D790KIT,replacement,
handwaygasket
1
9#
24X764KIT,replacement,pop-up
head,6in.
1
10#
17F065KIT,replacement,pop-up
gasket,6in.skirt
1
Ref. Ref.
Ref.
Part Part
Part
Description Description
Description
Qty. Qty.
Qty.
11#
24X768KIT,replacement,
alignmentbracket
1
12#
24X770KIT,replacement,pop-up
T-handle
1
13*EQ1860
VALVE,auto-vent,3/4npt1
14*
127699
VALVE,safety,150psi
1
15†
EQ1034
VALVE,check,3/8in.sst1
16†127852
FITTING,elbow,swivel,
push-to-connect
1
17‡
EQ1003
VALVE,ball,3/4npt,sst1
#
Includedinassembly1
Includedinassembly2
Includedinassembly3
*
Includedinassembly4.
Applysealanttopipethreads.
40334142F

Related product manuals