EasyManua.ls Logo

Graco PR70 - Level Sensors

Graco PR70
82 pages
Print Icon
To Next Page IconTo Next Page
To Next Page IconTo Next Page
To Previous Page IconTo Previous Page
To Previous Page IconTo Previous Page
Loading...
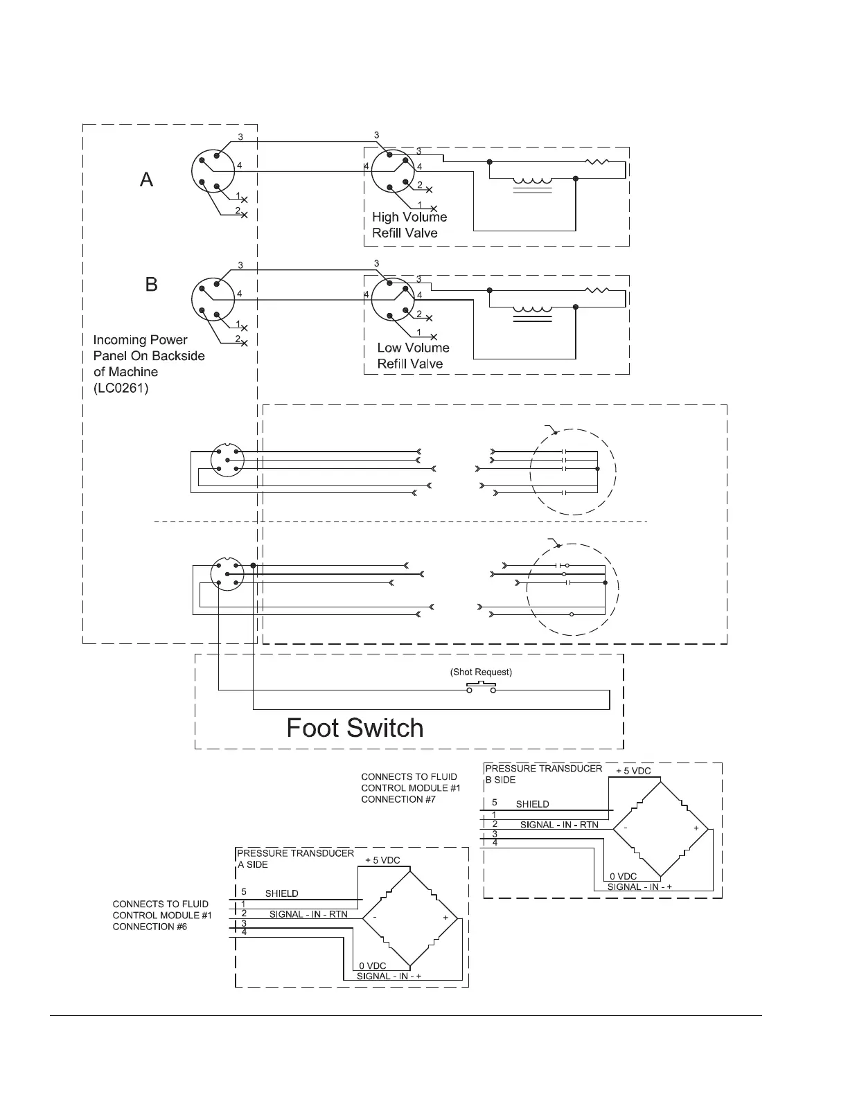
Electrical Schematics
28 312760Y
NOTE: See PR70 operation manual for Optional External Control Interface instructions.
F
IG. 6: Electrical Schematic - Page 4
2
1
4
5
1
3
2
4
5
1
3
2
Customer Supplied
Dry Contact/Relay
Customer Supplied
Dry Contact/Relay
SHOT SEL - BIT 0
SHOT SEL - BIT 3
Not Used
COMMON
SHOT SEL - BIT 1
SHOT REQUEST - INPUT
FAULT OUTPUT
INTERRUPT - CAN - REQ - INPUT
COMMON
READY - OUTPUT
Brown
Gray
Black
Blue
White
Brown
+24 VDC
+24 VDC
Gray
Black
Blue
White
NOTE: Connector #1 is for use
with all systems.
NOTE: View shown is looking at
pins on end of cable.
NOTE: Connector #2 is for use
with systems with an Advanced
Display Module only.
NOTE: View shown is looking at
pins on end of cable.

Other manuals for Graco PR70

Related product manuals