EasyManua.ls Logo

Graco PR70 - Troubleshooting

Graco PR70
82 pages
Print Icon
To Next Page IconTo Next Page
To Next Page IconTo Next Page
To Previous Page IconTo Previous Page
To Previous Page IconTo Previous Page
Loading...
Parts
70 312760Y
Heated, Recirculating Hose Packages
1703
1702
1703
1702
1701
1701
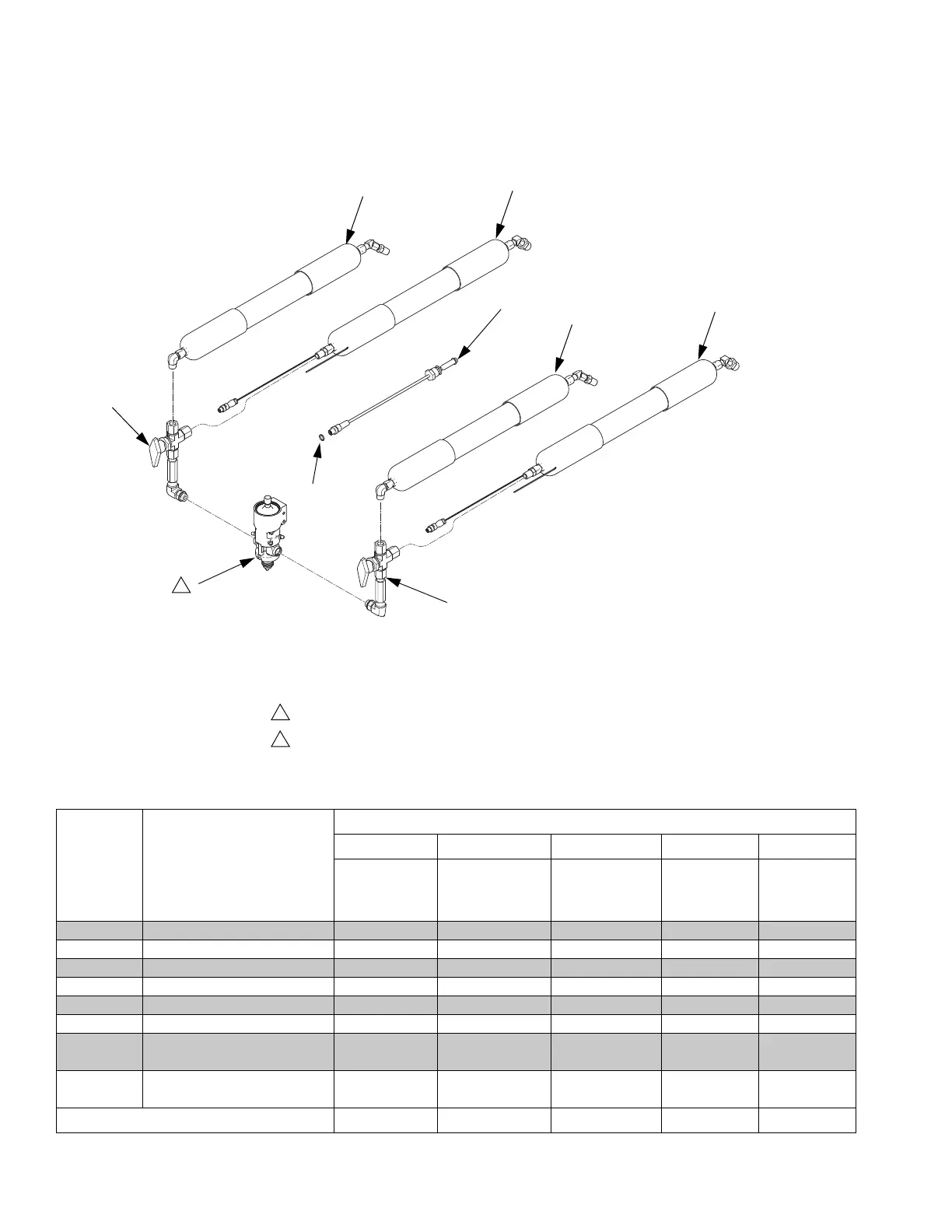
2
Apply thread sealant tape to male npt threads before assembly.
Dispense valve shown for reference only.
1
2
Assembly LC0190 shown installed as
the Low Volume and High Volume
Side Hose Package
ti12443b
1704
1705
Hose
Package Description
Reference Number and Description
1701 1702 1703 1704 1705
Valve
Assembly
Heated
Supply Hose
Assembly
Insulated
Return Hose
Assembly
Pressure
Sensor O-Ring
LC0190 1/4 in. x 30 in., on-board 255976 258084 258095 16A093 111457
LC0191 1/4 in. x 120 in., on-board 255976 258085 258096 16A093 111457
LC0192 1/4 in. x 180 in., on-board 255976 258086 258097 16A093 111457
LC0193 3/8 in. x 30 in., on-board 255975 258087 258098 16A093 111457
LC0194 3/8 in. x 120 in., on-board 255975 258088 258099 16A093 111457
LC0195 3/8 in. x 180 in., on-board 255975 258089 258121 16A093 111457
LC0472 3/8 in. x 30 in., on-board,
high pressure
255975 258087 LC0456 16A093 111457
LC0473 3/8 in. x 120 in., on-board,
high pressure
255975 258088 LC0457 16A093 111457
Quantity 11 111

Other manuals for Graco PR70

Related product manuals