EasyManua.ls Logo

GRAVOGRAPH L-Solution 900 - System Operation and Control

GRAVOGRAPH L-Solution 900
104 pages
Print Icon
To Next Page IconTo Next Page
To Next Page IconTo Next Page
To Previous Page IconTo Previous Page
To Previous Page IconTo Previous Page
Loading...
L-SOLUTION 700 / 800 / 900 machines . 66
First contact
System operation
In this section you will learn how the LASER system actually works and will become familiar with LASER system terminology.
We will then start working with the control panel and learn how to get around in the menu system.
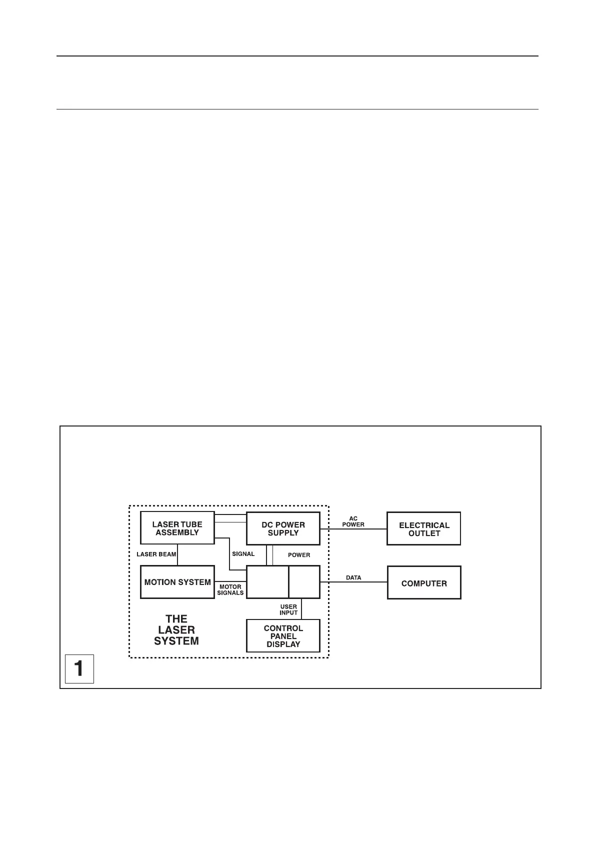
How it works
There are six basic components (diagram 1) that make up the LASER system, the DC power supply, the UC board, the
PUI board, the control panel, the LASER tube assembly, and the motion system.
DC Power Supply
The DC power supply converts the incoming AC electricity to 48 volts DC. This is used to power both the LASER tube
assembly and the UC and PUI boards.
UC board
The UC board is the «brains» of the system. The UC board receives informations from the computer and the control panel.
The incoming files, from the computer, are stored and treated by the UC board.
It outputs precisely timed signals to the PUI board.
PUI board
The PUI board receives information from the UC board. This information is necessary to the PUI board to output precisely
timed signals to fire the LASER beam and to move the motion system simultaneously.
Control Panel
This is where the operator controls the LASER system. It is composed of touch buttons and a LCD display. From this panel,
the operator can position the motion system, move around through the menu system in the LCD display, and run the LASER
system.
POWER
UC
BOARD
PUI
BOARD
System operation

Table of Contents

Related product manuals