EasyManua.ls Logo

Gritzner 1002 - Repair Instructions; Changing the Baseplate

Gritzner 1002
59 pages
Print Icon
To Next Page IconTo Next Page
To Next Page IconTo Next Page
To Previous Page IconTo Previous Page
To Previous Page IconTo Previous Page
Loading...
39
Repair Instructions
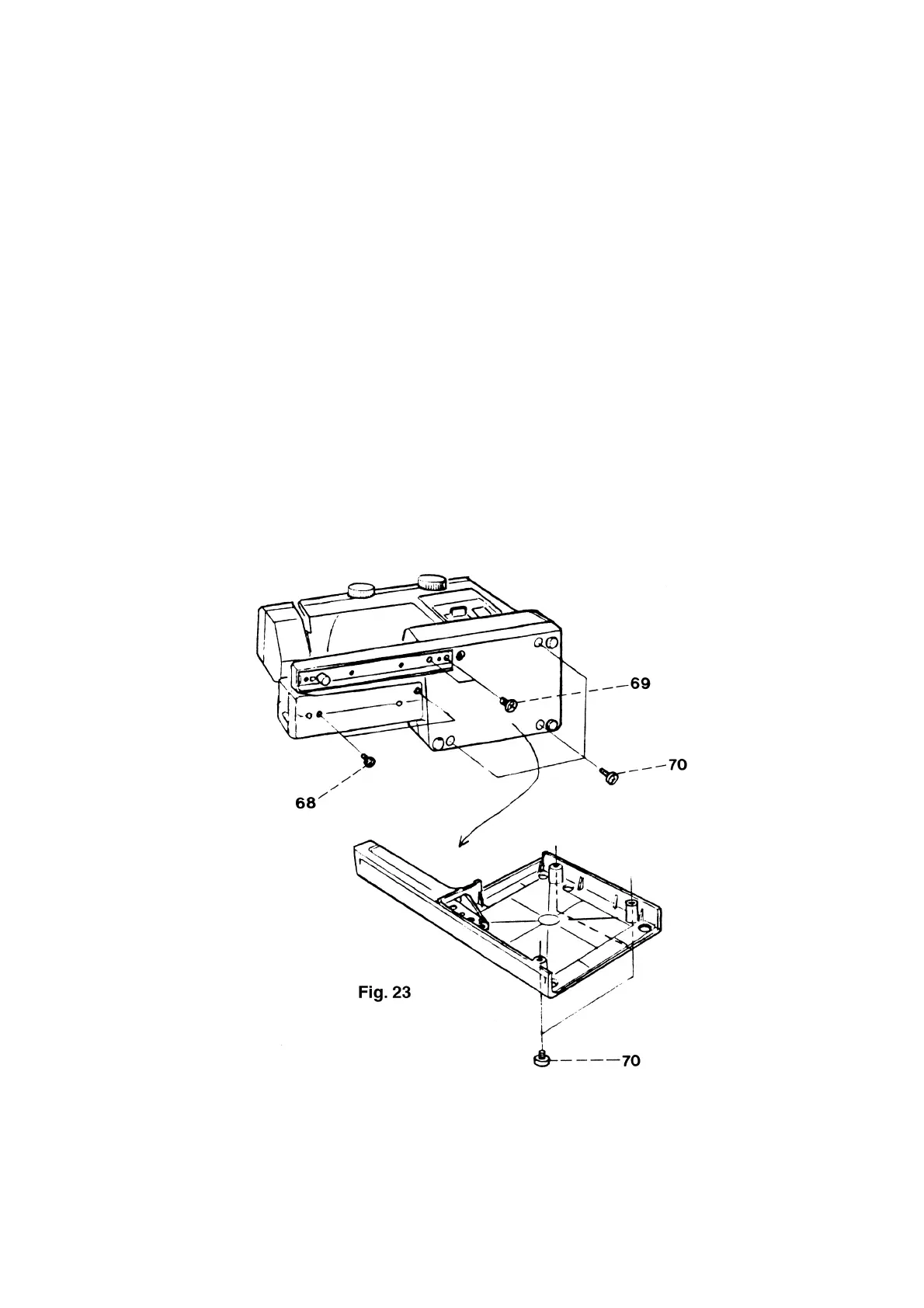
23. Changing the baseplate
Removal:
Remove the detachable work support (accessory box) by pulling it to the left.
Lay the machine with its back on the table (fig. 23).
Turn out both screws 69.
Turn out the three screws 70 and remove the baseplate.
Refitting
Fit the baseplate properly under the machine.
Insert and tighten the five screws.

Table of Contents

Related product manuals