EasyManua.ls Logo

Gritzner 1002 - Changing the Stand Cover

Gritzner 1002
59 pages
Print Icon
To Next Page IconTo Next Page
To Next Page IconTo Next Page
To Previous Page IconTo Previous Page
To Previous Page IconTo Previous Page
Loading...
43
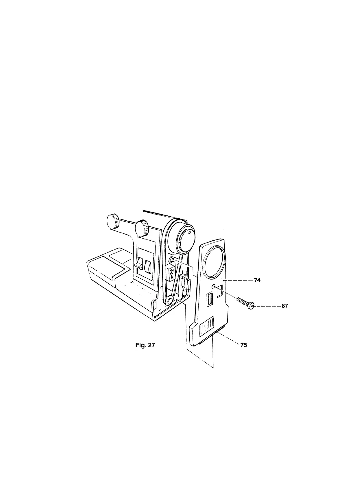
27. Changing the stand cover
Removal:
Fold up the carrying handle.
Turn out both screws 71.
Remove arm cover by lifting it upwards.
Turn out screw 87 (fig. 27).
Remove stand cover 74.
Refitting:
Insert stand cover rib 75 in the baseplate and push stand cover onto the machine housing.
Insert and tighten screw 87.
With the carrying handle in upright position, fit arm cover to the machine checking the position of the
thread tensioners and making sure that the arm cover closes without play.
Insert and tighten both screws 71.

Table of Contents

Related product manuals