EasyManua.ls Logo

H&S HSM250 - Electrical Schematic Drawing

H&S HSM250
86 pages
Print Icon
To Next Page IconTo Next Page
To Next Page IconTo Next Page
To Previous Page IconTo Previous Page
To Previous Page IconTo Previous Page
Loading...
THANK YOU FOR USING OUR PRODUCTS
-81-
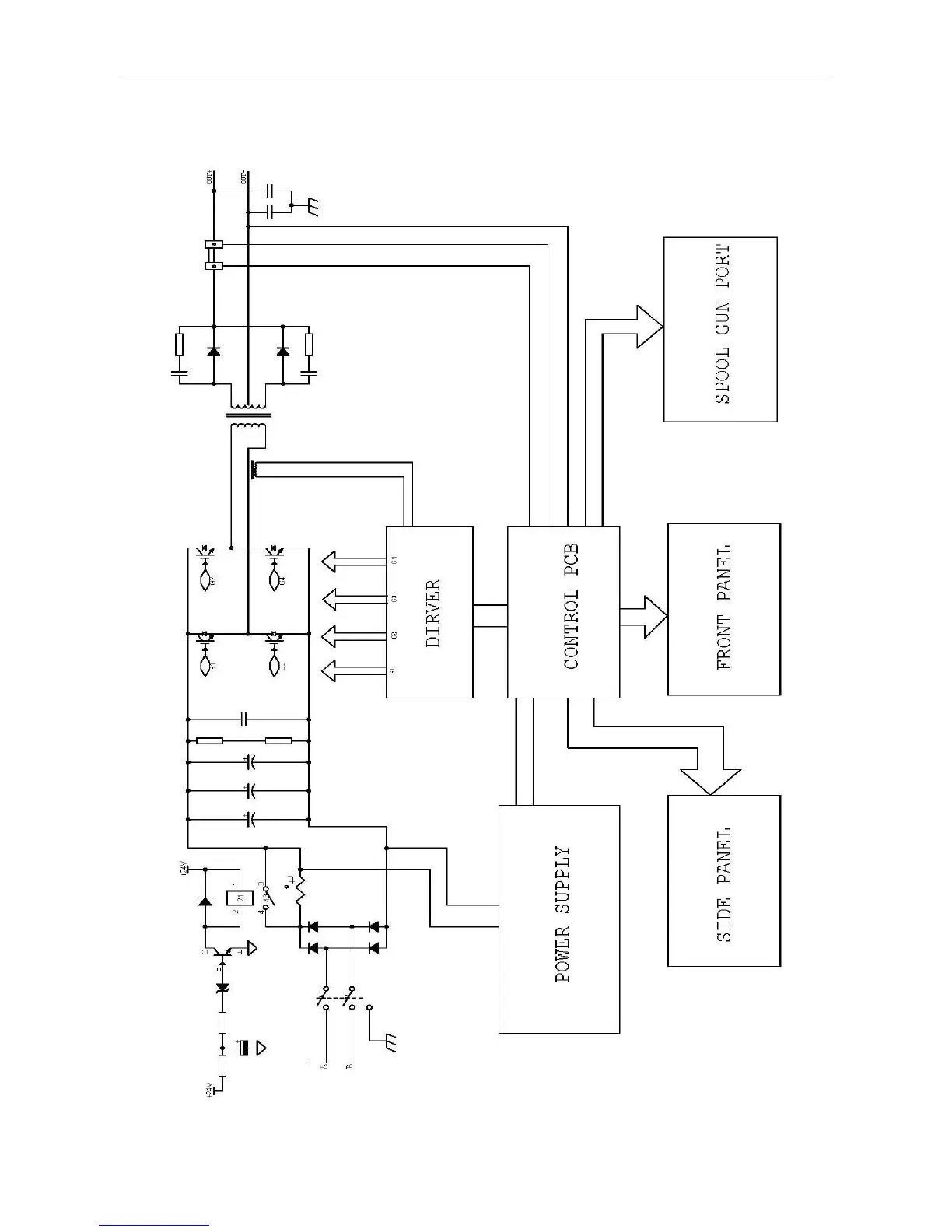
§7.4 Electrical Schematic Drawing

Table of Contents