EasyManua.ls Logo

HBM VK20A - Page 43

HBM VK20A
80 pages
Print Icon
To Next Page IconTo Next Page
To Next Page IconTo Next Page
To Previous Page IconTo Previous Page
To Previous Page IconTo Previous Page
Loading...
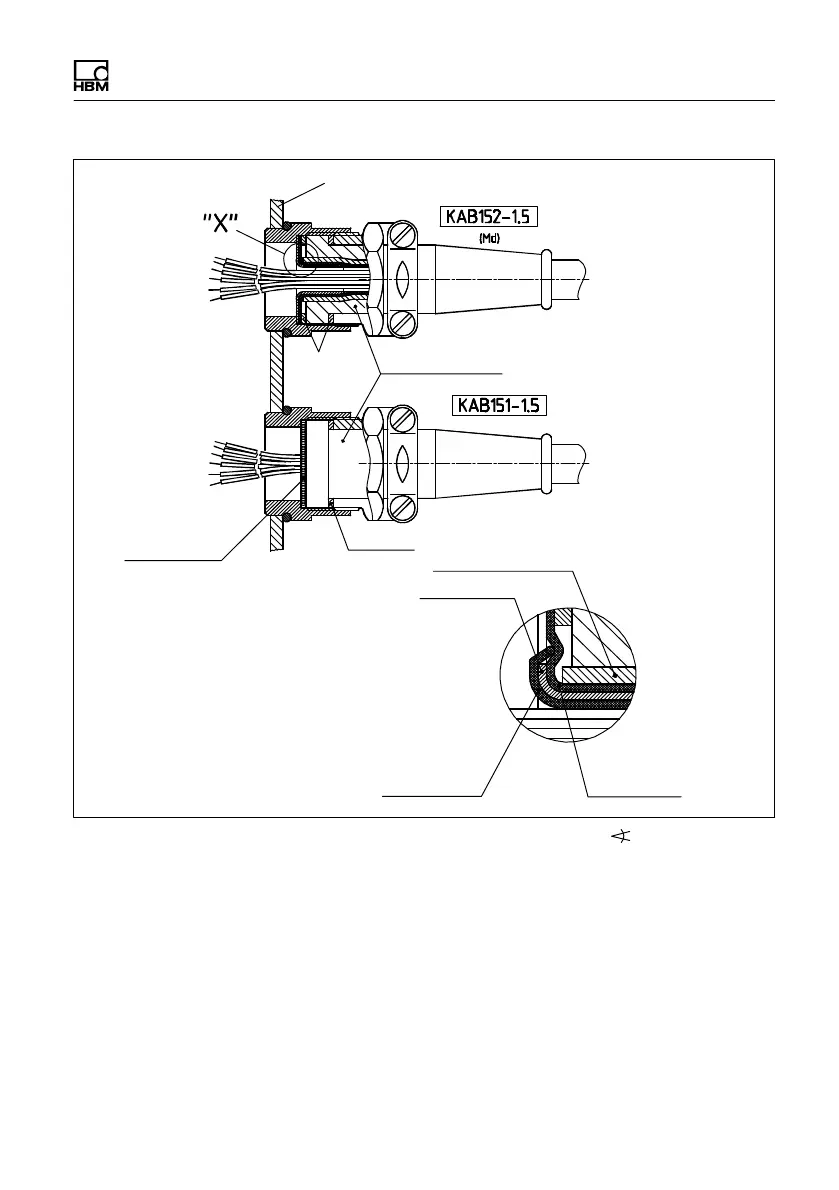
Elektrischer Anschluss
VK20A A2335-2.0 HBM: public 15
Knickschutztülle
Ø innen 8,5 mm
Druckringe
Druckring
Kabelschirm
um Druckring
geschlungen
Kabelaussenmantel
Erdungshülse
Kabelschirm
Beilauflitzen
der inneren
Kabelschirme
Einzelheit X
Gehäusewand
Abb. 5.4 Kabeldurchführung „Md” und „n/ ” am
Klemmenkasten

Table of Contents