EasyManua.ls Logo

Heathkit TA-16 - Page 26

Heathkit TA-16
50 pages
Print Icon
To Next Page IconTo Next Page
To Next Page IconTo Next Page
To Previous Page IconTo Previous Page
To Previous Page IconTo Previous Page
Loading...
1
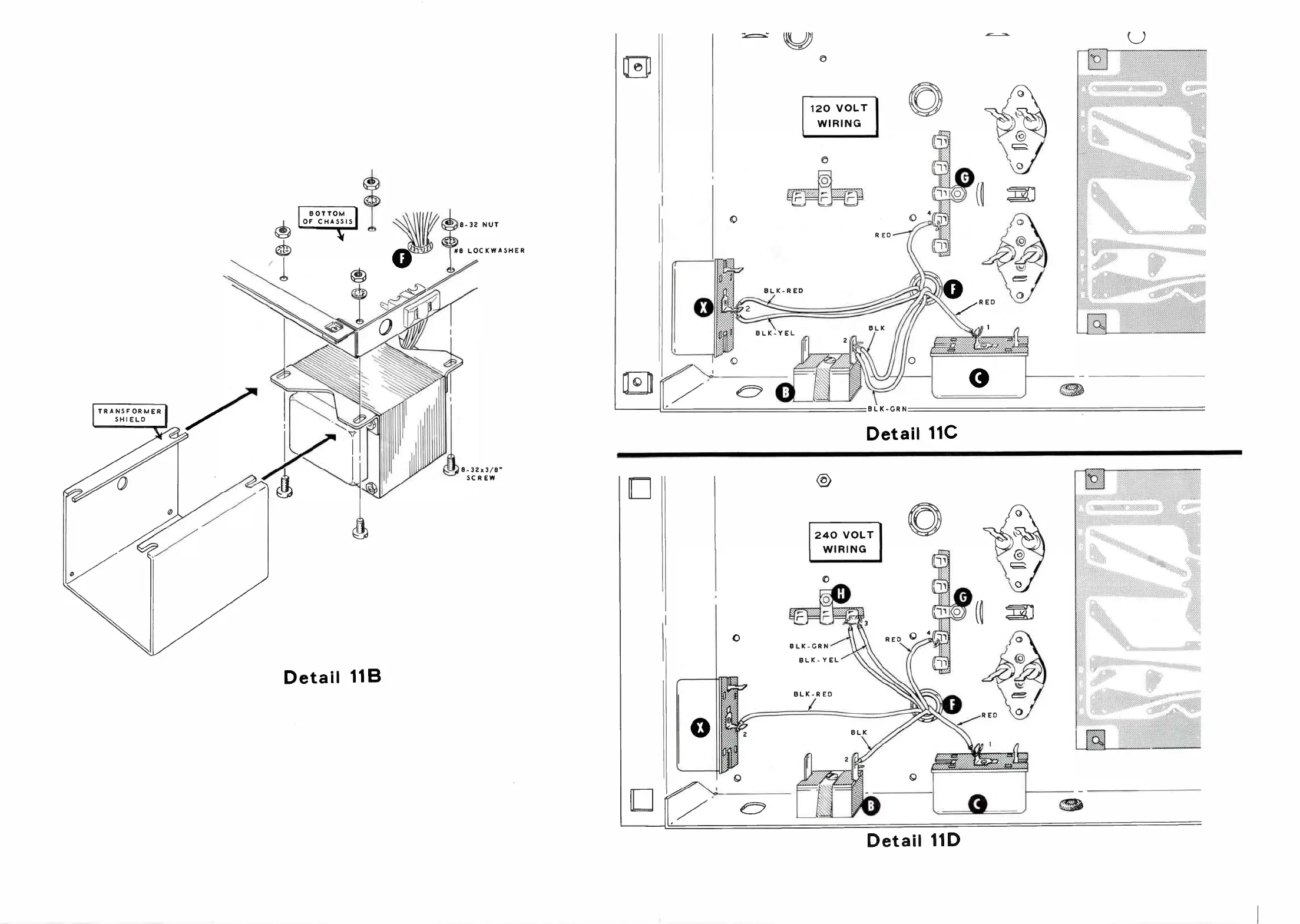
OF CHASSIS
BOTTOM
Detail
11B
8
LOCKWASHER
8-32x3/8"
SCREW
Ze=a7
120
VOLT
WIRING
Detail
11C
tannatage
.-
..keo'kukwee.
.4m.k
240
VOLT
WIRING
BLK-GRN
BLK-
Y
EL
BLK-R
ED
Detail
11D

Related product manuals