EasyManua.ls Logo

Hisense BCD-543WPAZR/HC1(E) - Page 27

Hisense BCD-543WPAZR/HC1(E)
56 pages
Print Icon
To Next Page IconTo Next Page
To Next Page IconTo Next Page
To Previous Page IconTo Previous Page
To Previous Page IconTo Previous Page
Loading...
27 / 56
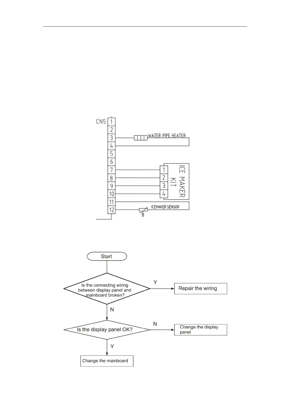
4.4.2.4 Ice maker error
Eb error:
1. Check the connecting wiring between main-board and ice maker (corresponding pin No.
7~10 on CN5 connector of main-board, as the drawing below, and repair if it is broken.
2. Input 12V power to pin No.7 and No.8 on CN5 connector of mainboard, check the ice
maker can positive rotating(Red wiring connect power, white wiring connect GND) and
negative rotating
(white wiring connect power, red wiring connect GND) normally or not. If it is abnormal,
change the ice maker or mainboard.
4.4.2.5. Communication error
Ec or Er error:

Related product manuals