EasyManua.ls Logo

Honeywell 5701 - View Alarm Level Settings

Honeywell 5701
213 pages
To Next Page IconTo Next Page
To Next Page IconTo Next Page
To Previous Page IconTo Previous Page
To Previous Page IconTo Previous Page
Loading...
6 - 7
MAN0443.P65 Issue 13 Aug 04 5701 Control System
05701-M-5001 A02279
CHAPTER 6 - OPERATING INSTRUCTIONS
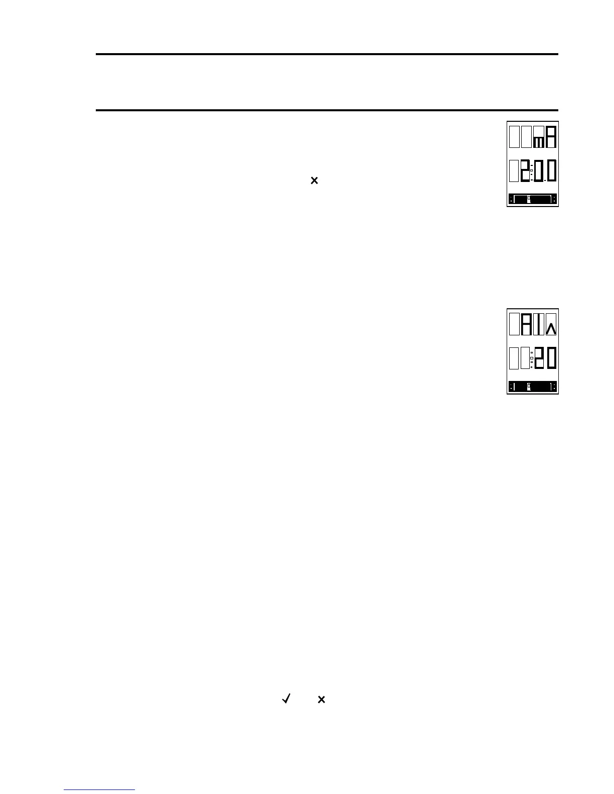
(2) Push the BEAD mA push-button and the selected
channel card display will indicate the configured bridge
current. eg. 200mA.
(3) Push the reject ( ) push-button or wait 30 seconds to
exit the Bead mA mode.
4.5 View Alarm Level Settings
The operation of the ALARMS push-button allows the viewing of the
alarm threshold point and alarm type (rising or falling) for each alarm
set point A1, A2 and A3.
To enter the alarm view operation, proceed as follows:
(1) Push and hold the required channel card RESET/
SELECT push-button for approximately 1.5 seconds
until the selected icon appears on the channel display.
(2) Push the ALARMS push-button and the selected
channel card display will indicate the A1 level alarm as
indicated opposite.
Note: The up arrow
A
indicates a rising alarm while the down
A
arrow
indicates a falling alarm.
(3) Push the ALARMS push-button a second time and the selected
channel card display will indicate the A2 level alarm.
(4) Push the ALARMS push-button a third time and the selected
channel card display will indicate the A3 level alarm.
(5) Push the ALARMS push-button a fourth time and the selected
channel card display will indicate the STEL level alarm.
(6) Push the ALARMS push-button a fifth time and the selected channel
card display will indicate the LTEL level alarm.
(7) Further pushes of the ALARMS push-button will scroll through the
alarm level set points again. ie. A1, A2, A3, STEL and LTEL.
Note: Where an alarm function is disabled, the alarm threshold value
will be displayed as '- - - -' in the digital display.
(8) Push the ( ) or ( ) push-buttons or wait 30 seconds to exit the
ALARMS mode.

Table of Contents

Related product manuals