EasyManua.ls Logo

Huawei RRU3232 - Page 50

Huawei RRU3232
95 pages
Print Icon
To Next Page IconTo Next Page
To Next Page IconTo Next Page
To Previous Page IconTo Previous Page
To Previous Page IconTo Previous Page
Loading...
The hoist clamp on the main mounting bracket is secured properly.
Context
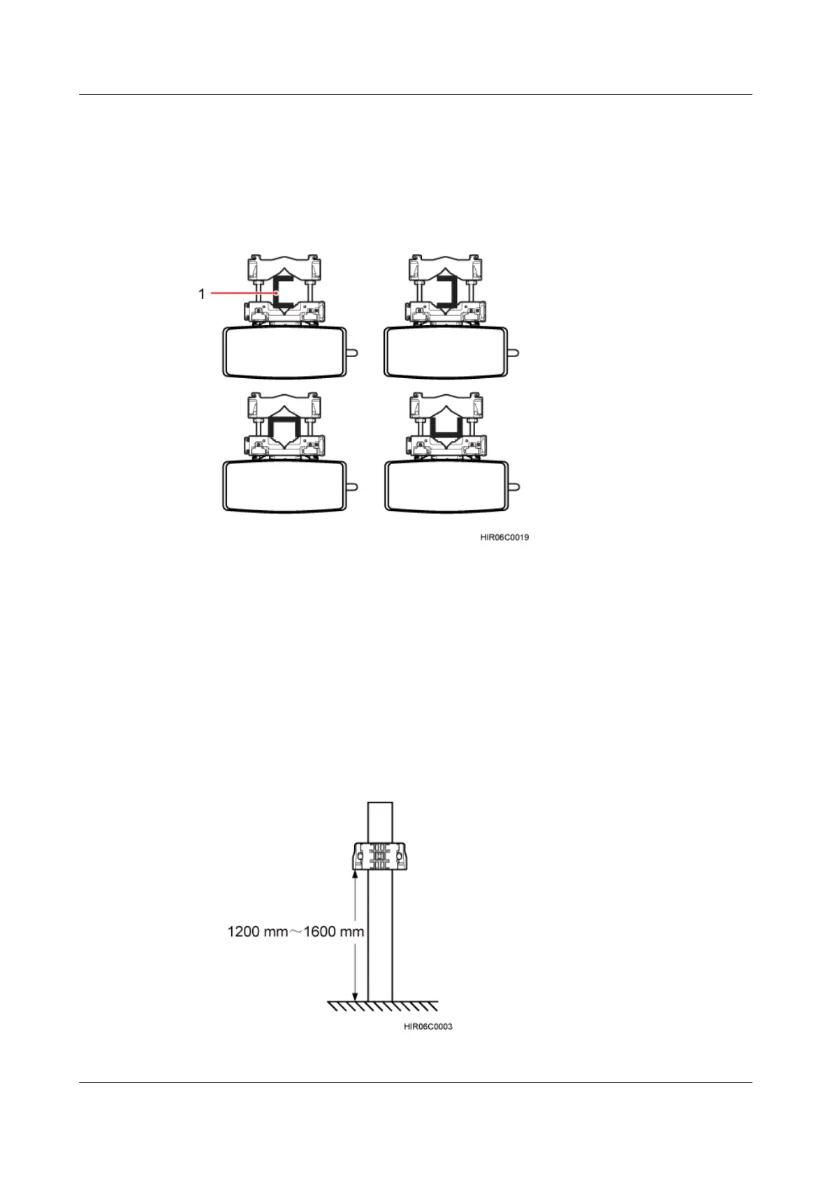
Figure 6-23 shows the top view of the RRU installed on U-steel.
Figure 6-23 Top view of the RRU
(1) U-steel
Procedure
Step 1 Determine a position for installing the main mounting bracket.
l If the RRU must be installed on a tower, see 3.5.1 Installation Clearance for a Single
RRU to determine a position.
l If the RRU must be installed on the ground, see Figure 6-24 to determine a position.
Figure 6-24 Distance between the main mounting bracket and the ground
RRU3232
Installation Guide 6 Installing the RRU
Issue 05 (2011-10-20) Huawei Proprietary and Confidential
Copyright © Huawei Technologies Co., Ltd.
42

Related product manuals