EasyManua.ls Logo

IFM Electronic Efector110 - Raccordement Et Mise en Service

IFM Electronic Efector110
Print Icon
To Next Page IconTo Next Page
To Next Page IconTo Next Page
To Previous Page IconTo Previous Page
To Previous Page IconTo Previous Page
Loading...
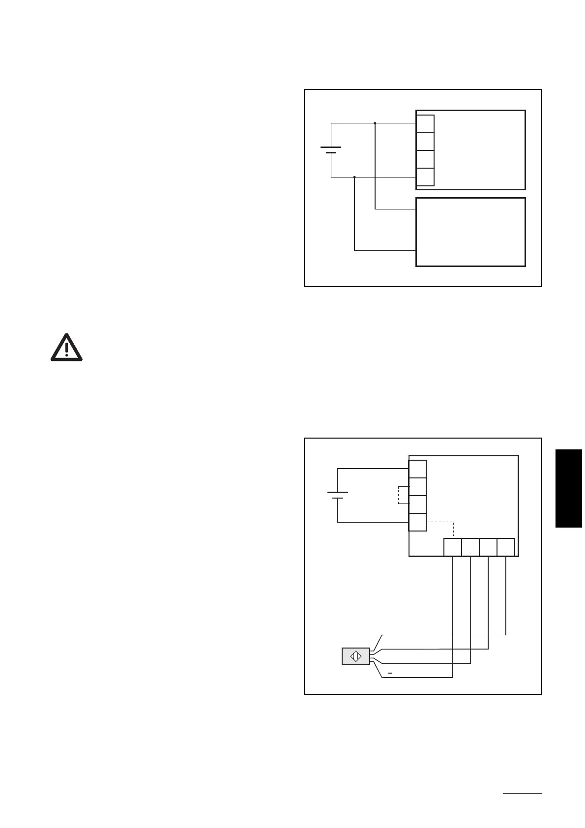
6. Raccordement et mise en service
Alimentation en tension et programmation
L'alimentation en tension pour les boîtiers
de contrôle est raccord ée au connecteur
C1 (voir illustration page 30), V+ et GND.
L'isolement vers le réseau d'alimentation
doit être conforme aux normes en
vigueur. Une double isolation n'est pas
nécessaire.
En cas d'utilisation d'une alimentation à
double isolation, celle-ci ne doit alimenter
en parallèle que des appareils n'exigeant
pas cette double isolation.
Des appareillages qui nécessitent une alimentation à double isolation
ne doivent pas être alimentés en parallèle avec le boîtier de contrôle.
Selon le nombre de détecteurs de sécurité raccordés, il faut effectuer une
programmation:
Pour les détecteurs de type GI5002 et
GM503S qui inversent le signal de test du
boîtier de contrôle, la programmation du
boîtier de contrôle dépend du nombre de
détecteurs de sécurité raccordés :
Si un nombre impair de détecteurs de
sécurité de type GI5002 ou GM503S est
raccordé, il faut mettre le shunt entre les
broches P1/P2.
page 31
FRANÇAIS
GND P1 P2 V+
-
+
autre
appareillage
L- A TE L+
-
+
L
+
TE
A
L
GND P1 P2 V+
shunt P1/P2
24 V (20,4...30 V)
24 V (20,4...30 V)

Table of Contents