EasyManua.ls Logo

Impax 2000 - Page 54

Impax 2000
55 pages
Print Icon
To Next Page IconTo Next Page
To Next Page IconTo Next Page
To Previous Page IconTo Previous Page
To Previous Page IconTo Previous Page
Loading...
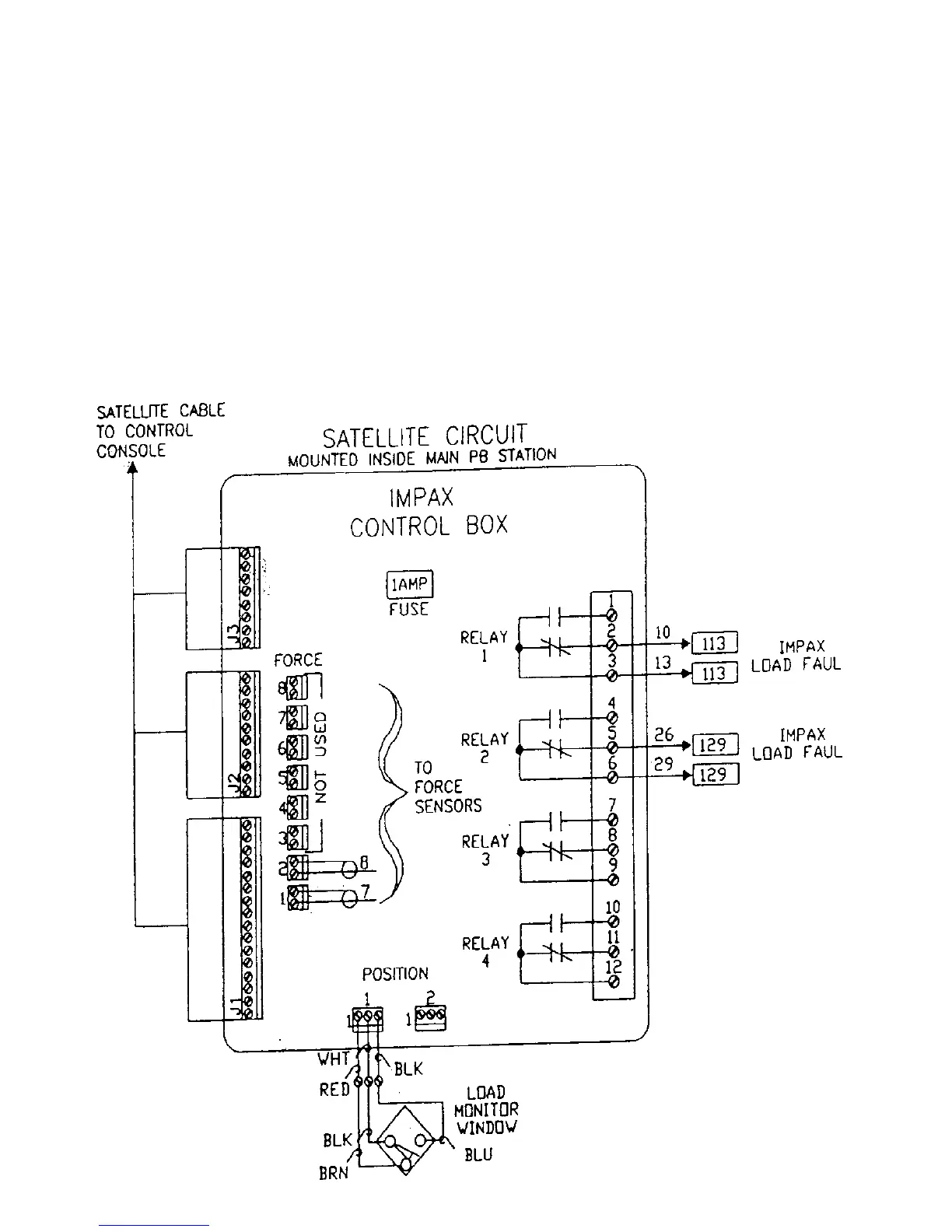
Satellite Box Circuitry