EasyManua.ls Logo

Intel BLKD915GAGL - Dual Channel (Interleaved) Mode Configuration with Two Dimms; Dual Channel (Interleaved) Mode Configuration with Three Dimms

Intel BLKD915GAGL
106 pages
Print Icon
To Next Page IconTo Next Page
To Next Page IconTo Next Page
To Previous Page IconTo Previous Page
To Previous Page IconTo Previous Page
Loading...
Product Description
23
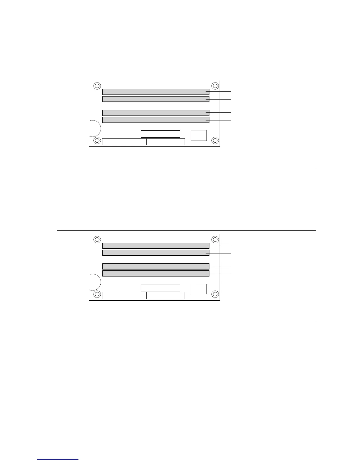
1.6.1.1 Dual Channel (Interleaved) Mode Configurations
Figure 5 shows a dual channel configuration using two DIMMs. In this example, the DIMM0
(blue) sockets of both channels are populated with identical DIMMs.
OM17123
Channel A, DIMM 0
Channel A, DIMM 1
Channel B, DIMM 0
Channel B, DIMM 1
1 GB
1 GB
Figure 5. Dual Channel (Interleaved) Mode Configuration with Two DIMMs
Figure 6 shows a dual channel configuration using three DIMMs. In this example, the combined
capacity of the two DIMMs in Channel A equal the capacity of the single DIMM in the DIMM0
(blue) socket of Channel B.
OM17122
Channel A, DIMM 0
Channel A, DIMM 1
Channel B, DIMM 0
Channel B, DIMM 1
256 MB
512 MB
256 MB
Figure 6. Dual Channel (Interleaved) Mode Configuration with Three DIMMs

Table of Contents

Related product manuals