EasyManua.ls Logo

Interpump SS71 - 17 Flushing Circuit Diagram of Use

Interpump SS71
34 pages
Print Icon
To Next Page IconTo Next Page
To Next Page IconTo Next Page
To Previous Page IconTo Previous Page
To Previous Page IconTo Previous Page
Loading...
ENGLISH
37
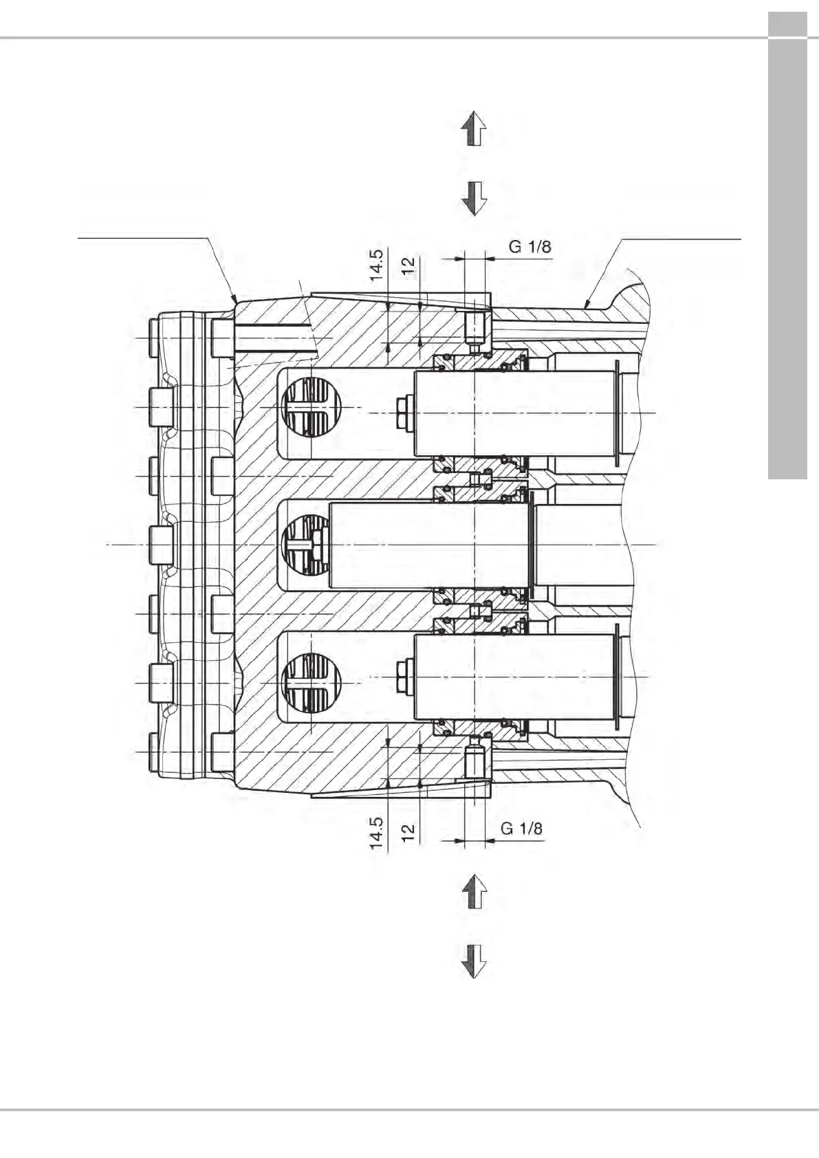
17 FLUSHING CIRCUIT DIAGRAM OF USE
Adhere to the following values for proper system operation:
minimum circuit ow rate 5 l/min, maximum uid pressure 6 bar
Pump head
Pump casing
Outlet
Inlet
Outlet
Inlet

Table of Contents

Related product manuals