EasyManua.ls Logo

INVT VS070QS-1618MDM1

INVT VS070QS-1618MDM1
65 pages
To Next Page IconTo Next Page
To Next Page IconTo Next Page
To Previous Page IconTo Previous Page
To Previous Page IconTo Previous Page
Loading...
VS070QS-1618MDM1 Integrated Machine Product overview
202403 (V1.0) 21
Mode selection
switch position
State
PORT0 running protocol
N:N network protocol.
TM (ON→TM)
Running
Converted to programming protocol
OFF→TM
Stop
OFF
Stop
If the system configuration of user program is free-port
protocol, it converts to programming protocol
automatically after stop; or system protocol keeps
unchanged
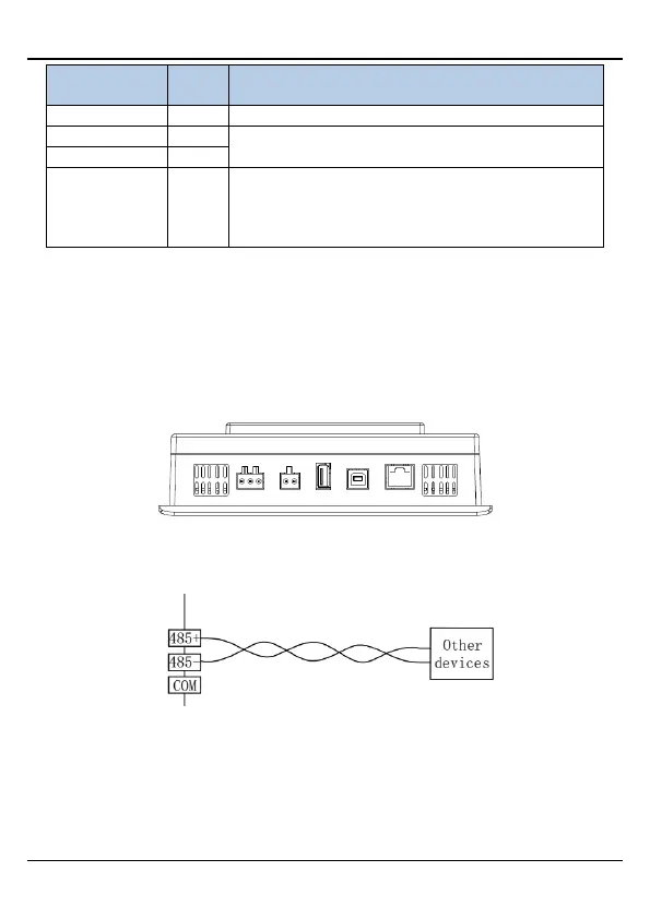
Both COM1 and PORT1 are RS485 ports that can be connected to devices with
communication functions, such as VFDs. These ports can be used to control multiple
devices in networking mode through the RS485 terminal free protocol. They are
terminals fastened with screws. You can make the communication signal cables by
yourself. It is recommended that you use shielded twisted pairs (STPs) to connect
the ports, as shown in the following figure.
Figure 2-5 HMI
Power
supply
COM1
Firmware
download
port
Download
port
LAN
Figure 2-6 PLC PORT1

Table of Contents