EasyManua.ls Logo

Jet 22-44OSC - Assembly Continued; Drum Head Installation; Conveyor Table Installation

Jet 22-44OSC
36 pages
Print Icon
To Next Page IconTo Next Page
To Next Page IconTo Next Page
To Previous Page IconTo Previous Page
To Previous Page IconTo Previous Page
Loading...
10
Drum Head Installation
Tools required for assembly:
001 Flat head screwdriver
001 Set of open-end wrenches
001 Set of Hex wrenches
001 Adjustable wrench
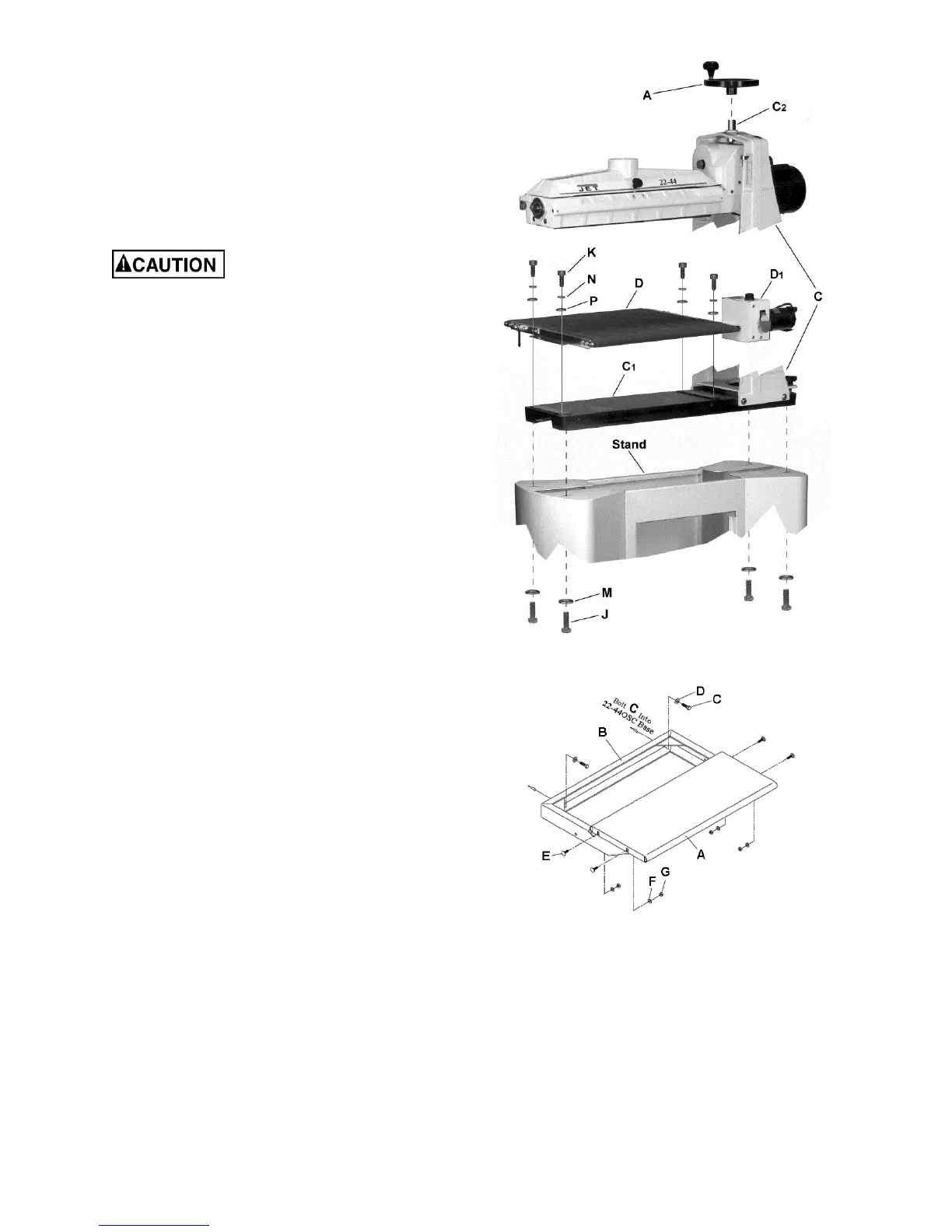
Referring to Figure 5:
1. Place the sander (C) onto the stand previously
assembled.
The sander is very heavy. Use a
hoist or assistance when moving to avoid injury
to self and equipment.
Align the four threaded mounting holes of the
sander base (C
1
) with the slotted holes on the
stand.
2. Secure the sander (C) to the stand from inside
the cabinet using four 3/8” x 1” hex cap
screws (J) and four 3/8” flat washers (M).
3. Attach the handwheel (A) to the height
adjustment screw (C
2
), and tighten the two set
screws with the 4mm hex wrench supplied.
After installing the drum head to the stand, finish
tightening all mounting hardware that was prev-
iously hand-tightened during the stand assembly.
Conveyor Table Installation
1. Raise the drum as far as it will go by turning the
handwheel (A) clockwise.
2. Place the conveyor (D) onto the sander
base (C
1
).
Align the four holes in the conveyor (D) with the
four holes in the sander base.
3. Secure the conveyor in place with four 5/16” x
3/4” socket head cap screws (K), four 5/16”
lock washers (N) and four 5/16” flat
washers (P).
4. Plug the sander's motor cord into the
receptacle of the control box (D
1
).
Important: The conveyor belt has been over-
tensioned for the purpose of shipping. Before
operation, adjust the belt tension (see page 15).
Installing Accessories
Infeed and Outfeed Tables
The infeed and outfeed table is an optional
accessory.
1. Bolt the base bracket (B, Fig. 6) to the sander
base with two 3/8”-16 x 1” hex head cap
screws (C) and two 3/8” flat washers (D).
Tighten the screws.
Figure 5
Figure 6
2. Mount the table (A) to the base bracket (B) with
four 1/4"-20 x 3/4" carriage bolts (E), four 1/4"
flat washers (F) and four 1/4" hex nuts (G).
Note: Leave the carriage bolts loose for now.
3. Place a straight edge on the conveyor bed and
extending out over the extension table. Raise
or lower the extension table until it is level with,
or slightly below, the surface of the conveyor
belt. Tighten the hex nuts (G).
4. Repeat for the other table.

Other manuals for Jet 22-44OSC

Related product manuals