EasyManua.ls Logo

JVC CA-UXQD9S - Recording Timer

JVC CA-UXQD9S
174 pages
Print Icon
To Next Page IconTo Next Page
To Next Page IconTo Next Page
To Previous Page IconTo Previous Page
To Previous Page IconTo Previous Page
Loading...
Introduction
47
(Continued)
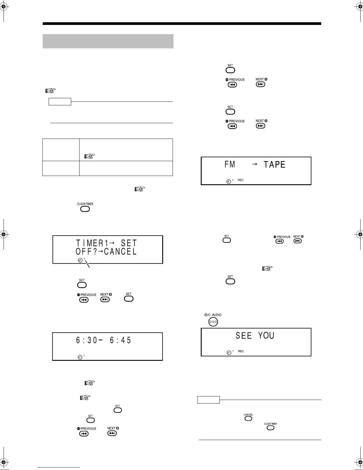
Using the Timers
You can use the recording timer function to record
FM/AM broadcasts or sound from other equipment
to cassette tape.
You can enter up to three timer settings in total for
the recording timer and the playback timer
( page 48).
NOTE
Timer settings remain unchanged until the timer is
replaced by new setting.
1 Prepare the sound source.
2 Insert a cassette tape. ( page
42)
3 Press repeatedly to select
"TIMER1", "TIMER2" or "TIMER3".
Example: When "TIMER1" is selected
4 Press .
5 Press , or to set the
starting time and ending time.
Example:To set the recording time from 6:30
a.m. to 6:45 a.m.
You can use the number buttons to set the
recording time. Refer to "Using the number
buttons" ( page 16).
For setting the clock, refer to "Setting the
Clock" ( page 16).
Entering the "hour" Entering the
"minute"
6 Press or to select
"ONCE" or "EVERYDAY".
ONCE : The recording timer works
once.
EVERYDAY : The recording timer works
every day.
7 Press .
8 Press or to select "REC
TIMER".
"REC" stands for "Recording".
9 Press .
10 Press or to select a
sound source.
Example: To record an FM broadcast to a
cassette tape
When you want to record sound from other
equipment, you cannot use the recording
timer function to start playback on any
equipment other than this product.
When you want to record an FM/AM radio
broadcast
Press , and then press , or
the number buttons to select the preset
number of the radio station whose broad-
cast you want to record. Refer to "Using
the number buttons" ( page 16).
11 Press .
The settings appear in the display window.
Confirm the settings.
12 When the main unit is on, press
to turn off the main unit.
While the recording timer is functioning, the
volume is set to "0" and no sound is pro-
duced from the speakers or headphones.
The recording timer is available only when
the main unit is turned off.
NOTE
During operation, you can return to the previous
step by pressing . You can quit the recording
timer settings by pressing . The settings are
not stored.
Recording Timer
Radio Preset the radio station whose
broadcast you want to record.
( page 20)
Other
equipment
Follow the operation manual for the
equipment.
Timer number
UX-QD9[UN].book 47 ペー 00  

Table of Contents