EasyManua.ls Logo

JVC CA-UXQD9S - Changing the Color Patterns for the Display Window and Disc Tray

JVC CA-UXQD9S
174 pages
Print Icon
To Next Page IconTo Next Page
To Next Page IconTo Next Page
To Previous Page IconTo Previous Page
To Previous Page IconTo Previous Page
Loading...
18
Basic Operations English
Basic Operations
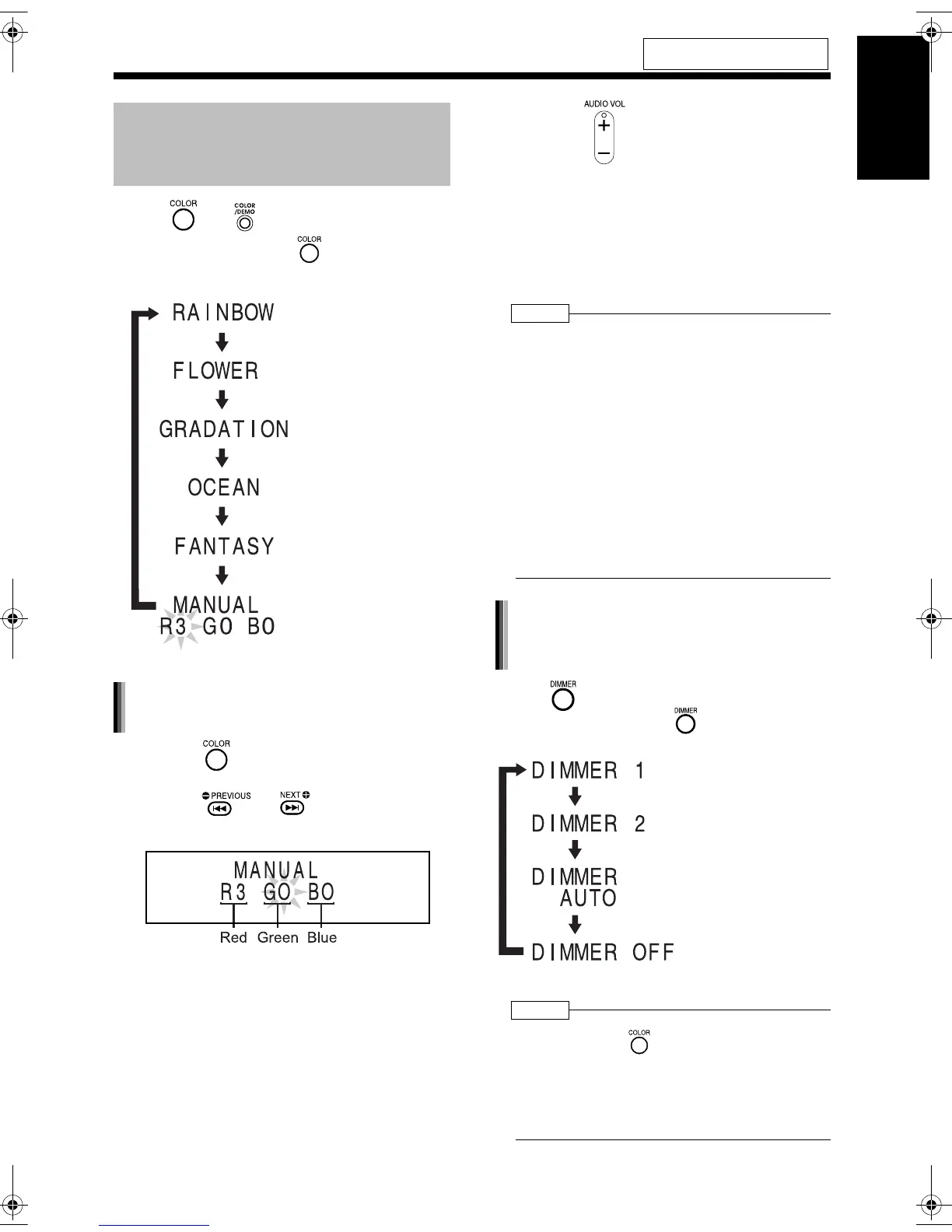
Press (or on the main unit).
Each time you press , the display tog-
gles as follows.
1 Press repeatedly to display
"MANUAL".
2 Press or to select a
component color.
Numerical value of the selected component
color flashes.
3 Press to adjust the intensity
of the component color.
You can also adjust the color intensity by turn-
ing the VOLUME control on the main unit.
You can adjust the color intensity within the
range of "0" to "3".
You cannot set all three component colors
(red, green, and blue) to "0" at the same time.
NOTE
After you have adjusted each component color, the
display returns to the sound source display in
approximately 8 seconds.
You cannot set different colors for the display
window and disc tray.
When you operate a button on the main unit or
remote control, the display window and disc tray
light in pale blue for approximately 2 seconds.
When recording finishes, the color of the display
window and disc tray switches to the color set in
"MANUAL" to inform you that recording has
finished. (With an item other than "MANUAL"
selected)
When you operate the main unit after recording
finishes, the color pattern for the display window
and disc tray returns to the selected pattern.
Press .
Each time you press , the display toggles
as follows.
NOTE
Once you press to change the color pattern,
the brightness returns to the initial setting. (except
for DIMMER AUTO)
When you turn off the main unit, the brightness
also returns to the initial setting.
You cannot turn off the color pattern.
For the locations of remote control
buttons, refer to page 16.
Changing the Color Patterns
for the Display Window and
Disc Tray
: For the color of your
choice. (The setting
shown on the left is
initial setting.)
: For a rainbow-like
pattern.
: For a flower-image
pattern.
: Gradually changes
the color pattern in a
cycle of approximately
20 seconds.
: For an ocean-image
pattern.
: For a fantasy pattern.
Setting your favorite color for the
display window and disc tray
Changing the brightness of the
display window and disc tray
(DIMMER)
: Color pattern becomes
dimmer.
: Color pattern
becomes darker, and
switches to blue.
: DIMMER 2 is automat-
ically selected during
video playback, and is
canceled when the
playback stops.
: Cancels the brightness
adjustment
(initial setting).
UX-QD9[US].book 18 ペー 00  

Table of Contents