EasyManua.ls Logo

JVC CA-UXQD9S - Playing Back the Bonus Group; Browsable Still Pictures (B.S.P.)

JVC CA-UXQD9S
174 pages
Print Icon
To Next Page IconTo Next Page
To Next Page IconTo Next Page
To Previous Page IconTo Previous Page
To Previous Page IconTo Previous Page
Loading...
30
Listening to Discs English
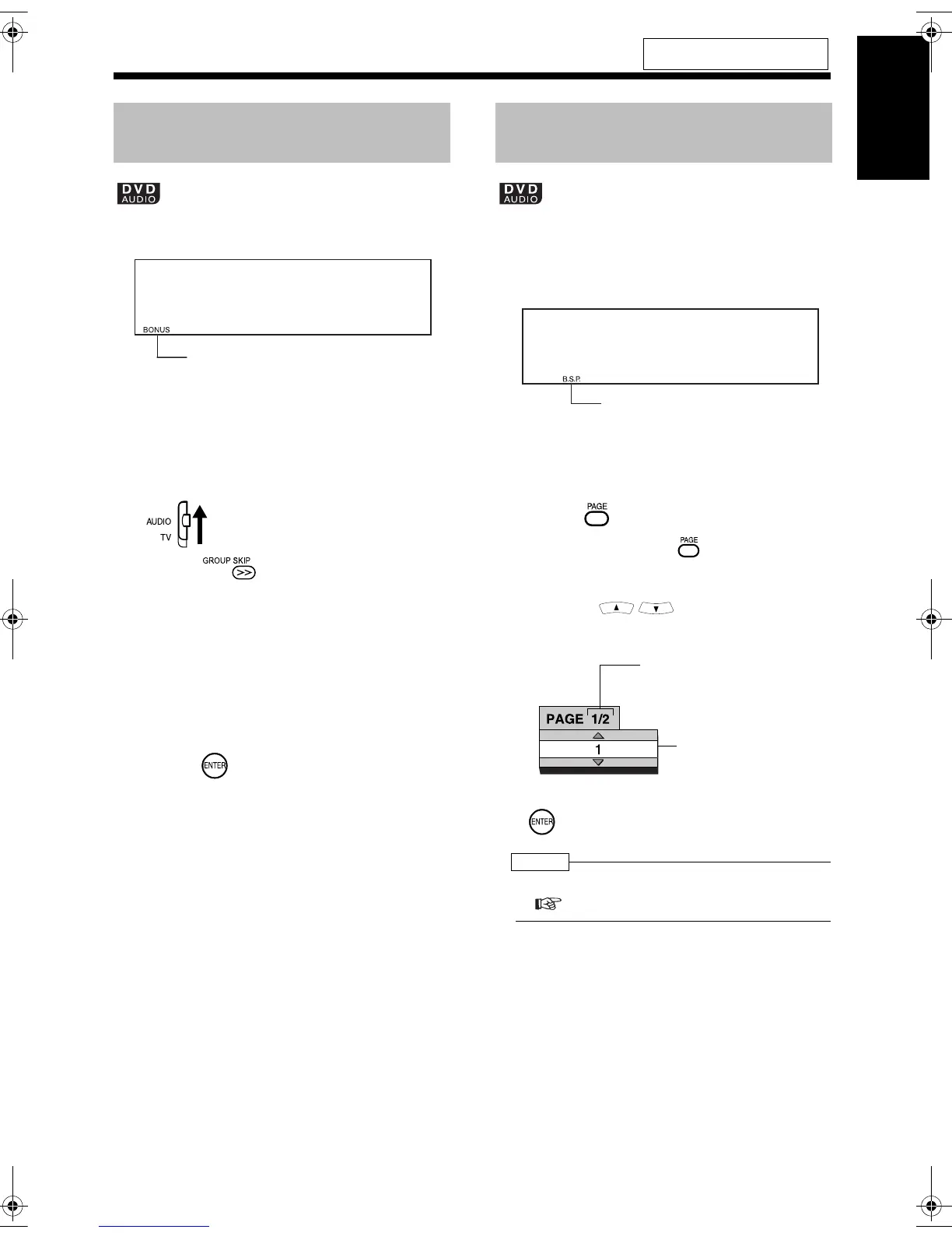
There are some DVD AUDIO discs with a special
group, called "bonus group", recorded.
This operation can be carried out when
"BONUS" is lit in the display window on
the main unit.
While a disc is being played back
1 Set the remote control mode
selector to AUDIO.
2 Press repeatedly during
playback to select a bonus group.
"KEY_ _ _ _" appears on the TV screen
and in the display window on the main
unit.
3 Press the number buttons to enter
a pin code (4 digits).
The method of getting a pin code is
different depending on the disc.
4 Press .
When a correct pin code is entered,
"BONUS" disappears and the playback
of the bonus group starts.
If an incorrect pin code is entered, try
entering a correct pin code again.
There are some DVD AUDIO discs with still pic-
tures recorded. Among the still pictures, there are
pictures called B.S.P. (browsable still pictures).
You can change these pictures as if turning over
pages.
This operation can be carried out when
"B.S.P." is lit in the display window on the
main unit.
While a disc is being played back
1 Press .
Each time you press , the still picture
will be switched over.
You can also change the pictures by
pressing .
Example: TV screen
2 Wait for a few seconds or press
.
NOTE
You can operate this function on the menu bar
( page 34).
For the locations of remote control
buttons, refer to page 26.
Playing Back the Bonus
Group
Bonus indicator
Browsable Still Pictures
(B.S.P.)
B.S.P. indicator
Selected page/
Total number of
pages
Selected page
(still picture)
UX-QD9[US].book 30 ペー 00  

Table of Contents