EasyManua.ls Logo

JVC Everio GZ-HD7

JVC Everio GZ-HD7
84 pages
To Next Page IconTo Next Page
To Next Page IconTo Next Page
To Previous Page IconTo Previous Page
To Previous Page IconTo Previous Page
Loading...
15
ENGLISH
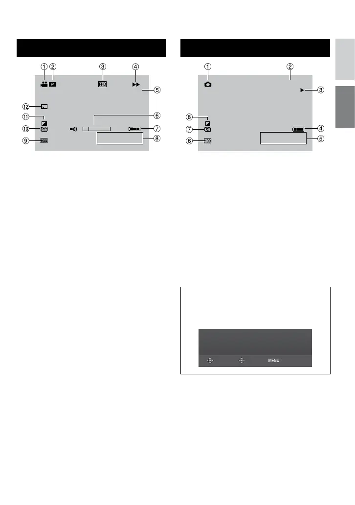
During Video Playback
1 : 5 5 : 0 1
PM
4 : 5 5
JAN.20.2007
X - 6 0
! Mode Indicator (Z pg.30)
#
6
: Playlist Playback Indicator (Appears
when playing back a playlist.) (Z pg.45)
¨ª
: Event Search Playback Indicator
(Appears when playing back a video file
from the event search.) (Z pg.33)
¨©
: Date Search Playback Indicator
(Appears when playing back a video file
from the date search.) (Z pg.32)
$ Picture Quality (Z pg.68)
% Playback Mode (Z pg.30)
U : Playback
9 : Pause
5
: Forward Search
3
: Reverse Search
9U : Forward Slow-Motion
Y9 : Reverse Slow-Motion
(The number on the left shows speed.)
& Counter (Zpg.68)
( Volume Level Indicator
) Battery Indicator (Z pg.78)
* Date/Time (Z pg.70)
+ Selected Medium Indicator (Z pg.68,69)
, Drop Detection Indicator (Appears when
[DROP DETECTION] is set to [OFF].)
(Z pg.70)
- Effect Mode Indicator (Z pg.34)
. Wipe/Fader Effect Indicator (Z pg.35)
During Still Image Playback
PM
4 : 5 5
J A N . 2 0 . 2 0 0 7
1 0 1 - 0 0 9 8
! Mode Indicator (Z pg.31)
# Folder/File Number
$ Slide Show Playback Indicator (Z pg.31)
% Battery Indicator (Z pg.78)
& Date/Time (Z pg.70)
( Selected Medium Indicator (Z pg.68,69)
) Drop Detection Indicator (Appears when
[DROP DETECTION] is set to [OFF].)
(Z pg.70)
* Effect Mode Indicator (Z pg.34)
Operation guide display
The operation guide is displayed at the
bottom of the screen during menu display
etc.

Table of Contents

Other manuals for JVC Everio GZ-HD7

Related product manuals