EasyManua.ls Logo

Kannad 406 AF-COMPACT - ELT Drilling Mask

Kannad 406 AF-COMPACT
88 pages
Print Icon
To Next Page IconTo Next Page
To Next Page IconTo Next Page
To Previous Page IconTo Previous Page
To Previous Page IconTo Previous Page
Loading...
INSTALLATION MANUAL OPERATION MANUAL INSPECTION LOG
KANNAD 406 AF-COMPACT
PAGE: 502
FEB 01/2008
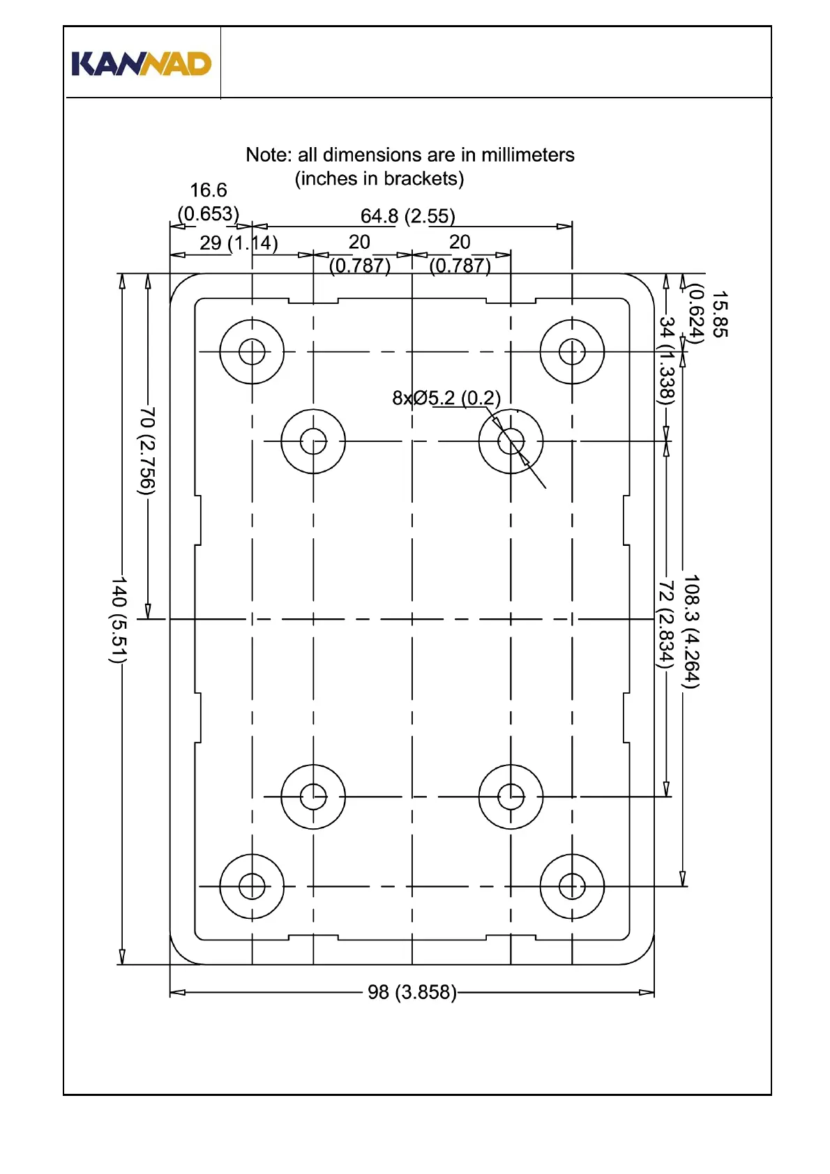
2. ELT Drilling Mask

Table of Contents

Other manuals for Kannad 406 AF-COMPACT

Related product manuals