EasyManua.ls Logo

Keysight N5227A - Page 299

Keysight N5227A
326 pages
Print Icon
To Next Page IconTo Next Page
To Next Page IconTo Next Page
To Previous Page IconTo Previous Page
To Previous Page IconTo Previous Page
Loading...
Service Guide N5227-90001 8-7
PNA Series Microwave Network Analyzers General Purpose Maintenance Procedures
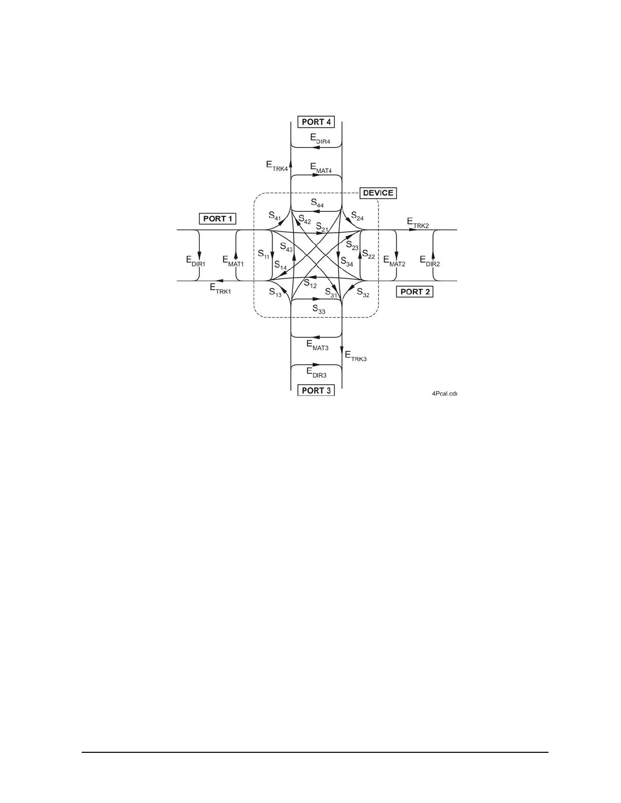
N5227A Error Terms
Figure 8-4 Flowgraph of Four-Port Error Terms
where:
E = error term
DIR = Directivity
MAT = Forward Source Match and Reverse Load Match
TRK = Forward Reflection Tracking and Reverse Transmission Tracking
For the case of a full 4-port calibration, port 1 has
four Match error terms:
S11 source match
S12 load match
S13 load match
S14 load match
and four Tracking error terms:
S11 reflection tracking
S12 transmission tracking
S13 transmission tracking
S12 transmission tracking
There are eight isolation (crosstalk) terms not shown.

Table of Contents

Other manuals for Keysight N5227A

Related product manuals