EasyManua.ls Logo

Kinze 3600 - GAUGE WHEEL ARM BUSHING;SEAL REPLACEMENT

Kinze 3600
176 pages
Print Icon
To Next Page IconTo Next Page
To Next Page IconTo Next Page
To Previous Page IconTo Previous Page
To Previous Page IconTo Previous Page
Loading...
TM
Model 3600M0259-01
9/14 6-19
Lubrication and Maintenance
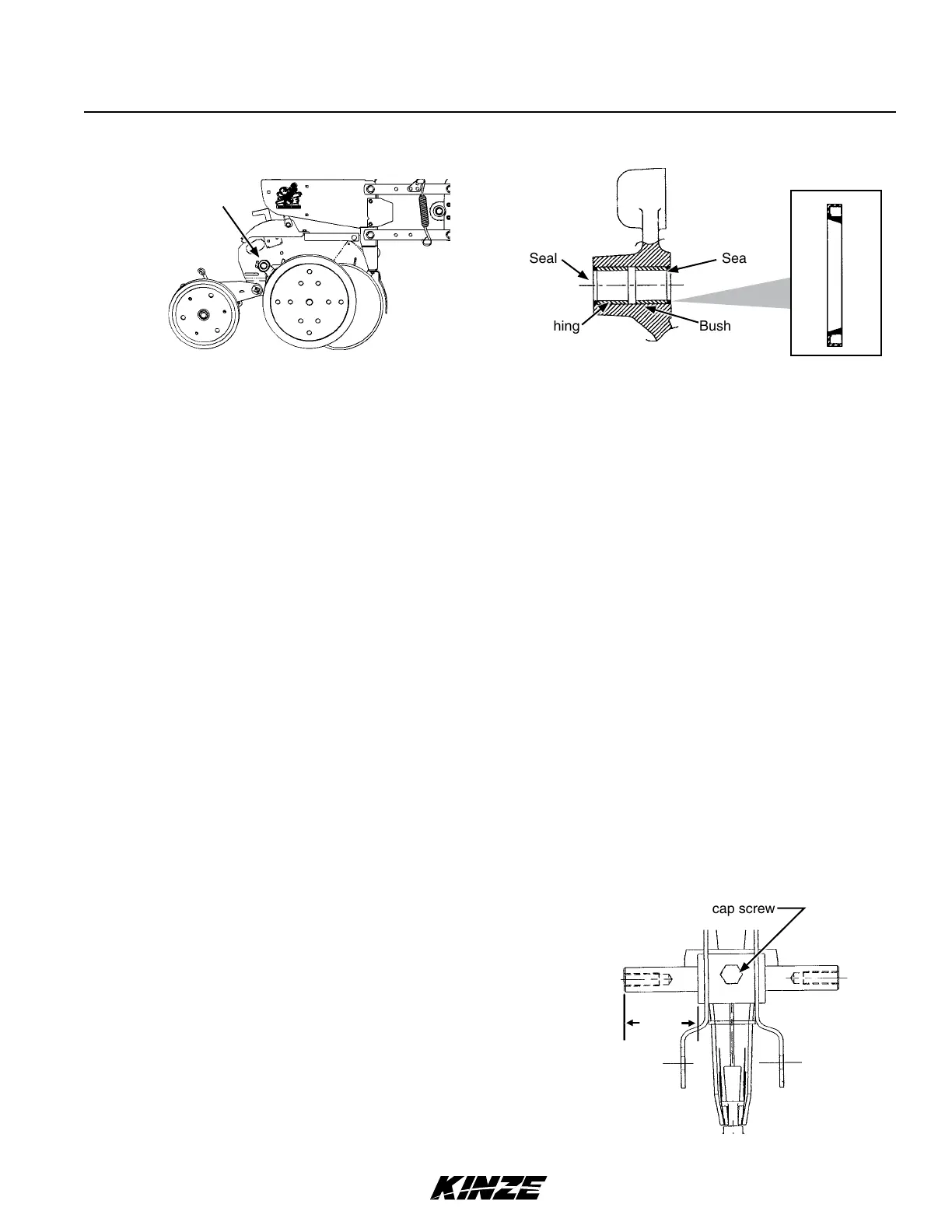
NOTE: Gauge Wheel Arm Bushing and Seal Driver Kit (G1K296) is available through your Kinze Dealer.
1. Remove gauge wheel from arm.
2. Remove gauge wheel arm from shank assembly.
3. Remove seal and bushing and discard. Clean and dry inner bore.
4. Drive/press replacement bushing inside bore of arm to a depth of .125" below flush.
5. Coat wiping edge of seal with grease.
6. Drive/press seal into place with lip to outside.
NOTE: Use extra care to protect the sealing lip during installation. Apply uniform pressure to assemble the
seal into the bore of the arm. Never apply a direct hammer blow to the seal surface.
7. Inspect gauge wheel pivot spindle.
8. Reinstall gauge wheel arm assembly and gauge wheel.
NOTE: Use special machine bushing between gauge wheel arm and gauge wheel.
9. Shim for proper gauge wheel tire/disc blade clearance.
10. Lubricate with an SAE multipurpose grease.
Seal Seal
Bushing Bushing
Gauge wheel arm
bushings/seals
1. Remove gauge wheel and arm assemblies from shank
assembly.
2. Remove ½" x ¾" cap screw that locks pivot spindle in
place and remove spindle.
3. Install replacement spindle and position as shown. Exact
centering is critical.
4. Install ½" x ¾" cap screw and torque to lock pivot spindle
in place.
5. Install gauge wheel and arm assemblies. Shim for proper
gauge wheel tire/disc blade clearance.
GAUGE WHEEL ARM BUSHING/SEAL REPLACEMENT
GAUGE WHEEL ARM PIVOT SPINDLE REPLACEMENT
2"
Pivot spindle cap screw

Table of Contents

Related product manuals