EasyManua.ls Logo

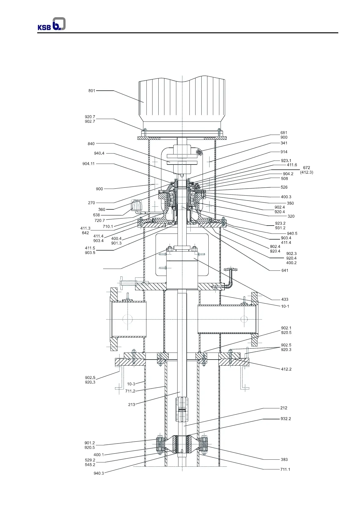
KSB WKT - 9 Sectional Drawing

KSB WKT
30 pages
Print Icon
To Next Page IconTo Next Page
To Next Page IconTo Next Page
To Previous Page IconTo Previous Page
To Previous Page IconTo Previous Page
Loading...
WKT
26
9. Sectional drawing (part 1/2) - reference
902.2
920.6

Table of Contents

Related product manuals