EasyManua.ls Logo

Kyocera ECOSYS P4040dn - Page 212

Kyocera ECOSYS P4040dn
317 pages
Print Icon
To Next Page IconTo Next Page
To Next Page IconTo Next Page
To Previous Page IconTo Previous Page
To Previous Page IconTo Previous Page
Loading...
Document Box
5-10
2
Press [Change] ([Right Select]). The Del. afterPrint screen
appears.
3
Press or to select On or Off.
4
Press [OK]. The Detail menu screen reappears.
Editing and Deleting Custom Boxes
It is possible to change the detailed settings of the Custom Boxes and to delete Boxes.
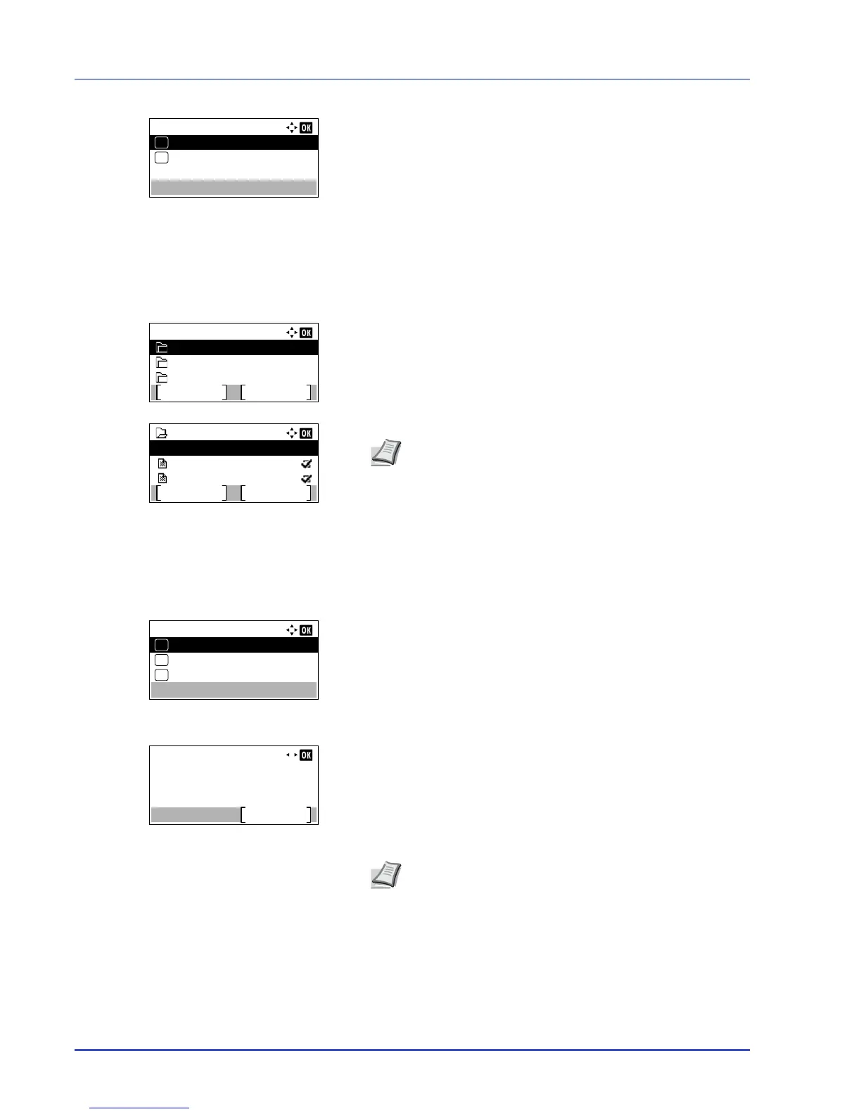
1
In the Custom Box list screen, press or to select the Box to edit
or delete.
2
Press [OK]. The file list screen for the Box selected is displayed.
The following operations are possible:
Editing Custom Boxes...5-10
Deleting Custom Boxes...5-11
Editing Custom Boxes
1
In the file list screen, press [Menu] ([Left Select]). The Menu screen
appears.
2
Press or to select Box Detail/Edit.
3
Press [OK]. The Detail screen appears.
4
Press or to check each of the settings and make changes.
5
When the editing is completed press [OK]. The file list screen
reappears.
Del. after Print:
Off
01
On
02
*
Custom Box:
Menu Add
0002 Box 02
0001 Box 01
0003 Box 03
0001 Box 01
Menu Select
Data 01
All Files
Data 02
Note
If the screen for entering a password is displayed then
enter the password using the numeric keys and then press
[OK].
Refer to Character Entry Method on page A-2 for details on
entering characters.
Menu:
Search(Name)
01
Box Detail/Edit
02
Delete
03
Detail:
1/ 9Box Name:
Edit
Box 01
Note
For the method for making changes, refer to Detailed
box settings on page 5-5.

Table of Contents

Other manuals for Kyocera ECOSYS P4040dn

Related product manuals