EasyManua.ls Logo

Kyocera ECOSYS P4040dn - Page 85

Kyocera ECOSYS P4040dn
317 pages
To Next Page IconTo Next Page
To Next Page IconTo Next Page
To Previous Page IconTo Previous Page
To Previous Page IconTo Previous Page
Loading...
4-19
Operation Panel
3
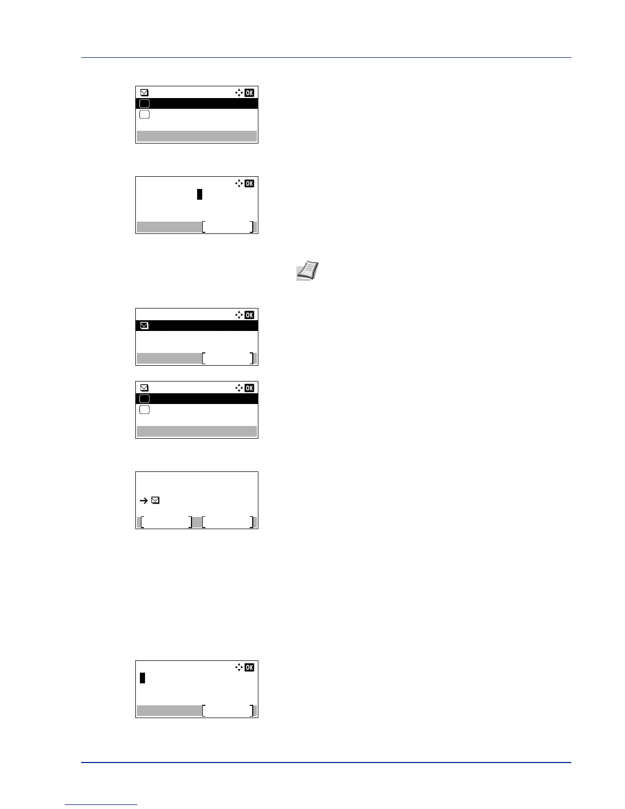
To edit the destination, press [OK].
4
Press or to select Edit.
5
Press [OK].
6
Enter the address using the numeric keys.
7
Press [OK].
8
To delete the destination, press [OK].
9
Press or to select Delete.
10
Press [OK]. A confirmation message is displayed.
11
To proceed with deleting the destination, press [Yes] ([Left Select]).
Completed. appears and the account is deleted.
Pressing [No] ([Right Select]) returns to the Dest. Confirm.
menu without deleting the destination.
Subject (Setting job log subject)
Set the subject automatically entered when sending log histories by E-mail.
1
In the Job Log History menu, press or to select Subject.
2
Press [OK]. The Subject screen appears.
aaa@bbb.com
Edit
Delete
01
02
Address Entry:
Text
ABC
aaa@bbb.com
Note
Up to 128 characters can be entered. For details on
entering characters, refer to Character Entry Method on page
A-2.
Dest. Confirm.:
Exit
aaa@bbb.com
aaa@bbb.com
Edit
Delete
01
02
Delete.
Are you sure?
Yes
No
aaa@bbb.com
Subject:
Text
ABC

Table of Contents

Other manuals for Kyocera ECOSYS P4040dn

Related product manuals