EasyManua.ls Logo

Lefon R4 - Cutting and Beveling with Both Blades

Default Icon
27 pages
Print Icon
To Next Page IconTo Next Page
To Next Page IconTo Next Page
To Previous Page IconTo Previous Page
To Previous Page IconTo Previous Page
Loading...
________________________________________________________________________________________________
_______________________________________________________________________________________________
Operation Manual Page 15 of 27
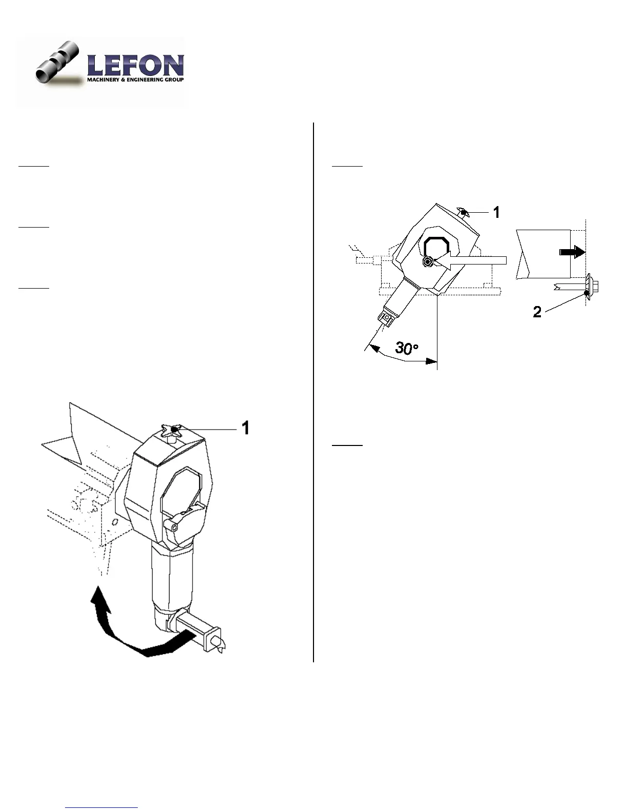
When cutting and beveling blade both installed
Step 1: Adjust the top handle wheel (1) to make space
available for bigger size pipe
Step 2
: Clamp the pipe in place so that it almost reaches
the additional cutter (2).
Step 3
: Grip the lower handle to turn the motor
clockwise for about 30° until the saw blade is in cutting
position
Step 4
: Adjust the top handle wheel (1) until the
additional cutter (2) cover the wall thickness of the pipe
Step 5: Perform a test cut; check the cut and beveling
result and readjust the handle wheel (1), if necessary.
Note: scale of the hand wheel: a readjustment of one
graduation mark will result in a radial feed or bevel
alteration of 0.1mm.

Related product manuals