EasyManua.ls Logo

Macurco CX-6 - Page 12

Macurco CX-6
165 pages
Print Icon
To Next Page IconTo Next Page
To Next Page IconTo Next Page
To Previous Page IconTo Previous Page
To Previous Page IconTo Previous Page
Loading...
Macurco CX-xx Manual (Rev-1.0) Eng
REV 1.0 [34-2900-0512-0 ] 12 | Page
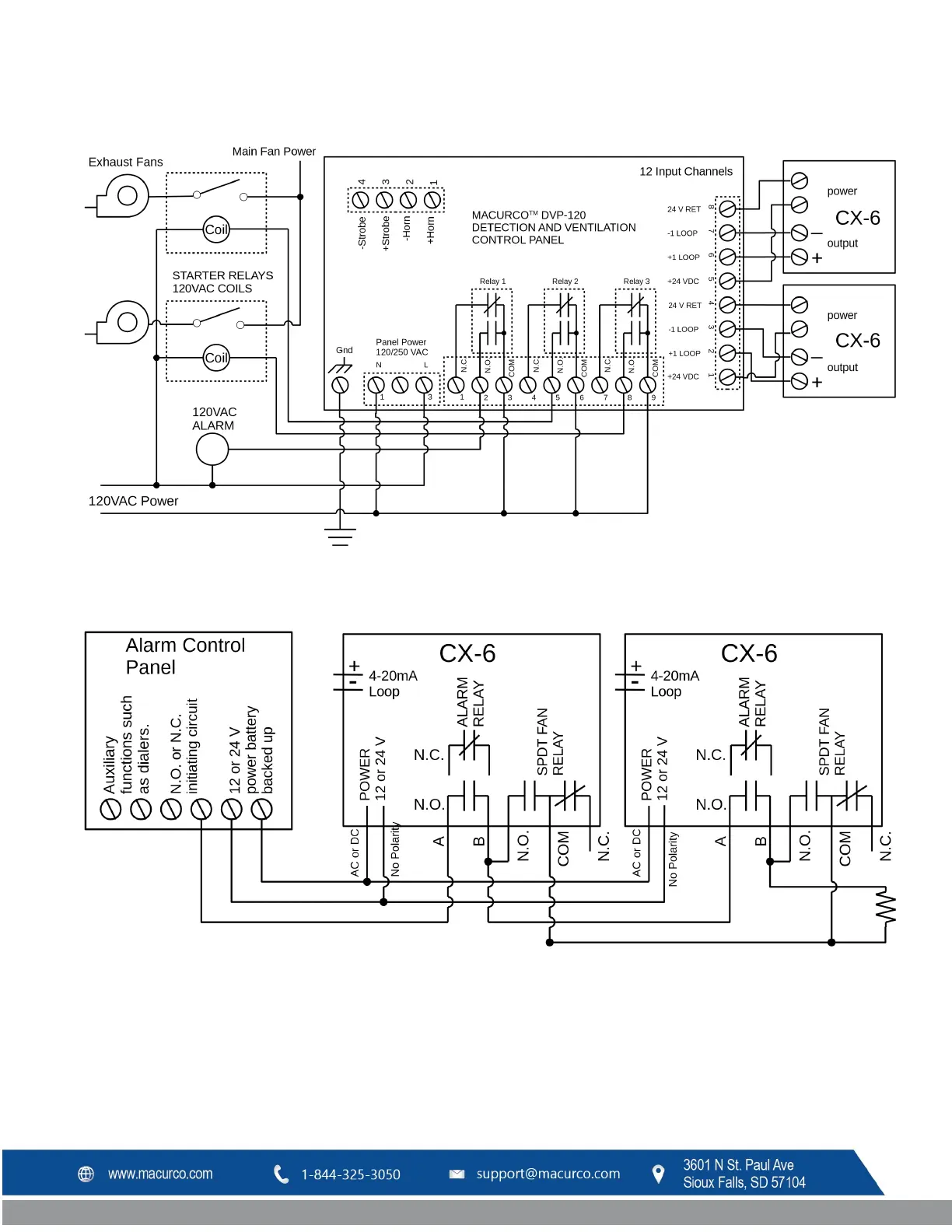
Figure 3–7 6-Series DVP-120 Control Panel
Figure 3–8 6-Series Alternate Alarm Panel
In this application (above) the Fan or primary relay is used as a low-level alarm relay. The Alarm or secondary relay is
used as a supervisory relay when utilized in the normally closed configuration. The CX-6 monitors all critical
functions of the unit through software diagnostics that continually test and verify its operations. If a problem is

Table of Contents

Related product manuals