EasyManua.ls Logo

Magnetic MHTM FlowMotion mWing - Base Plate and Drilling Template

Default Icon
80 pages
Print Icon
To Next Page IconTo Next Page
To Next Page IconTo Next Page
To Previous Page IconTo Previous Page
To Previous Page IconTo Previous Page
Loading...
41
mWing
Installation and assembly
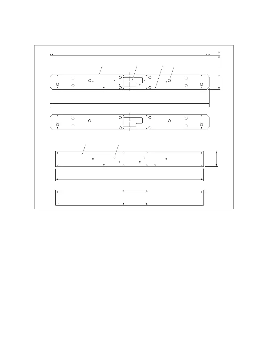
7.5 Base plate and drilling template
31 2 4
6
7
5
9
Mag00940
10
1239.5
120
1150
120
Fig. 14: Base plate and drilling template (dimensions in mm)
1 Base plate FURA100
2 Feed-through for empty conduits
3 Bores M8 for threaded rods or screws, see positions 6 and 9
4 Bores 20 mm for foundation anchors
5 Passage side
6 Base plate FURA100, only relevant positions for threaded rods or screws for mWing
are shown
7 Drilling template, see position 6 and 9
8 Holes for threaded rods
9 Holes for threaded rods, only relevant positions for threaded rods for mWing are
shown

Table of Contents