EasyManua.ls Logo

Maple Armor FW106 - FW106;FW106 C Mounting Space

Maple Armor FW106
73 pages
Print Icon
To Next Page IconTo Next Page
To Next Page IconTo Next Page
To Previous Page IconTo Previous Page
To Previous Page IconTo Previous Page
Loading...
InstallationandOperationManual
17

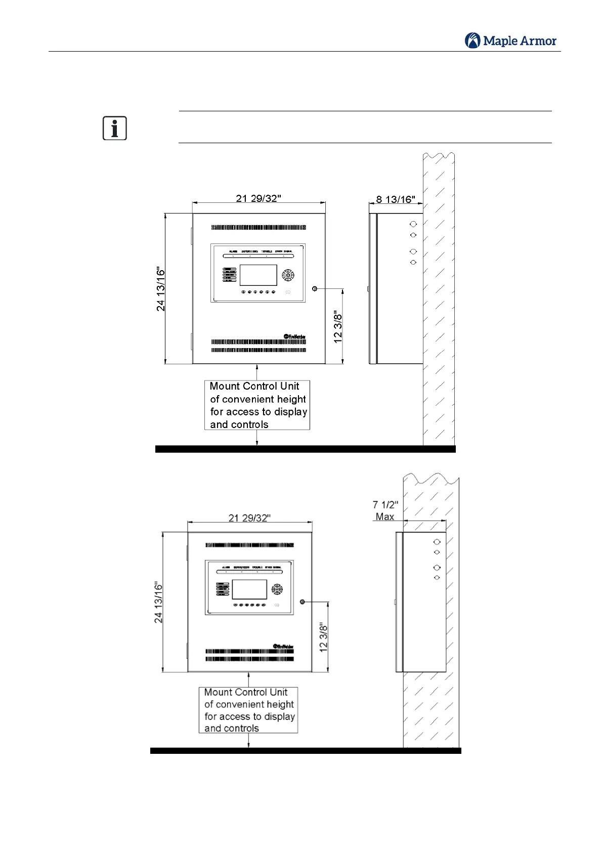
FW106/FW106CMountingSpace
TheFW106/FW106Ccabinetcanbesurfacemountedorflushmounted.
DoNOTflushmountinawalldesignatedasafireseparation.
Figure12FW106/FW106CEnclosureMountingSize

Table of Contents

Related product manuals