EasyManua.ls Logo

Marantz SR 8015 - Page 102

Marantz SR 8015
220 pages
Print Icon
To Next Page IconTo Next Page
To Next Page IconTo Next Page
To Previous Page IconTo Previous Page
To Previous Page IconTo Previous Page
Loading...
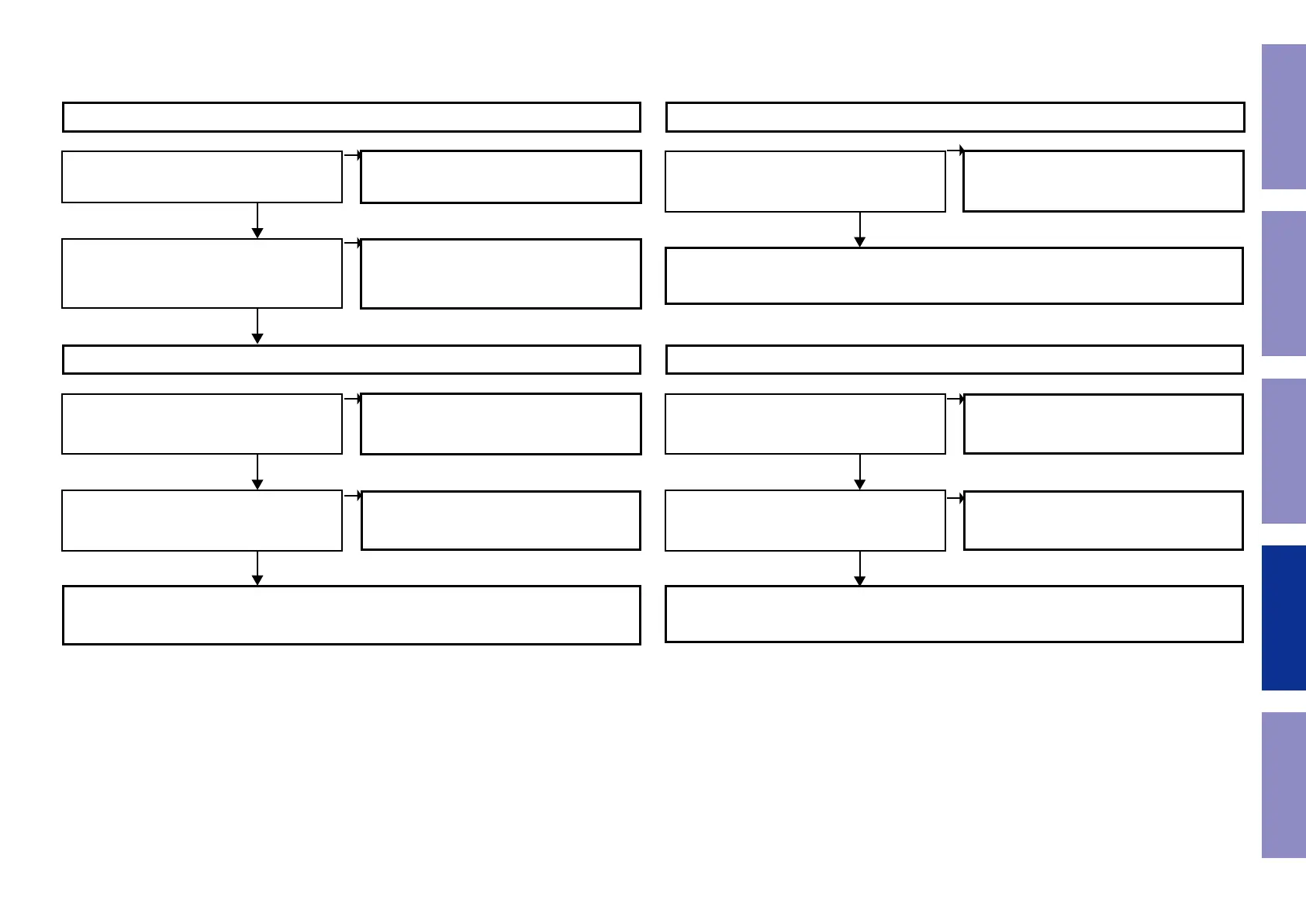
Check the USB device being used
YES
Is the USB device supported by this unit?
Is a USB hub being used?
This unit supports devices in the FAT16- and
FAT32-formatted mass storage class, MTP-
compatible devices and iPod devices (except for
some models).
Do not use a USB hub.
NO
Checking the unit
YES
YES
Can a voltage (5V) be conrmed between [N5559
(USB Connector) : 1 - 4pin] on FRONT USB PCB?
The USB signal circuit between Network Module and [N5559] of the FRONT USB PCB are faulty.
Are [N8001] of the DIGITAL PCB and [N5501] of
the FRONT USB PCB correctly connected?
The circuit around [U8002] of the DIGITAL PCB is
faulty.
Connect the connectors correctly.
5.3. Cannot recognize the connected USB device
YES
NO
NO
NO
Checking the unit (If no picture is output)
YES
• Check the VIDEO circuit.
Are digital video signals(NETGUI_PCK, HS, VS, DE,
B0 - B7, R0 - R7, G0 - G7) output from Network
Module to [U3200 : V.PLD]?
Checking the unit:(If no sound is output)
YES
YES
Check the [U102 : DSP] AUDIO circuit and the circuits thereafter.
Are the I2S signal output to [N8004 : 7, 11, 13,
14pin] of the DIGITAL PCB ?
Are audio signal output to [U102(DSP1) : D20pin]
(Test Point : DSP/INF/FL(TPX213)) on DIGITAL
PCB.
5.4. No picture or sound is output
The circuit around Network Module, [U3200 :
V.PLD] is faulty.
Network Module is faulty.
The circuit around [U9103 : A.PLD] is faulty.
NO
NO
NO
102
Before Servicing
This Unit
Electrical Mechanical Repair Information Updating

Related product manuals