EasyManua.ls Logo

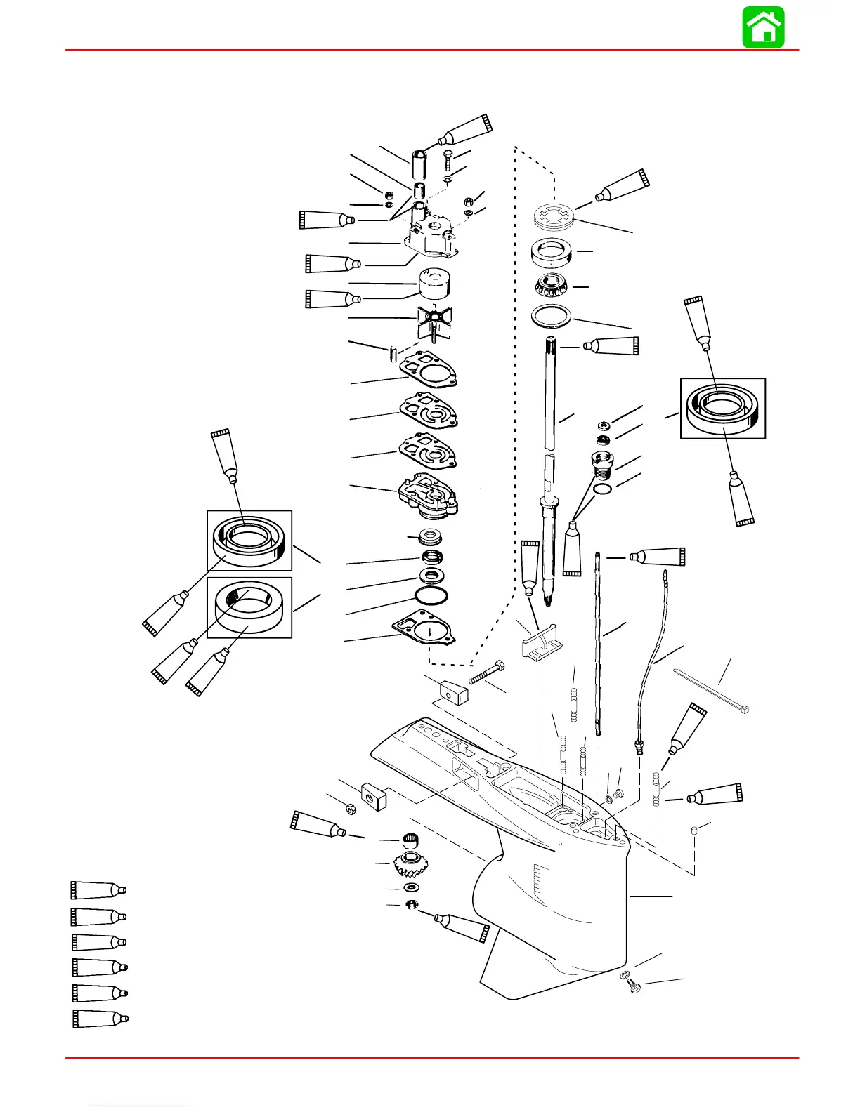
Mariner 150 OPTIMAX - Gear Housing (Drive Shaft)(Standard Rotation)

Default Icon
490 pages
Print Icon
To Next Page IconTo Next Page
To Next Page IconTo Next Page
To Previous Page IconTo Previous Page
To Previous Page IconTo Previous Page
Loading...
RIGHT HAND NON-RATCHETING
Page 6A-6 90-855347R1 JANUARY 1999
Gear Housing (Drive Shaft)(Standard Rotation)
1
2
3
7
8
10
12
13
14
15
16
17
19
22
23
24
25
26
27
29
30
32
33
34
35
36
37
38
39
40
41
42
43
44
45
46
47
48
49
11
20
10
45
28
31
23
95
95
7
95
95
95
98
33
109
7
95
95
7
95
19
95
109
9
95
Soap (Purchase Locally)
23
4.75 IN./120.65MM
TORPEDO DIA.
7
Loctite 271 (92-809820)
Perfect Seal (92-34227-1)
19
Loctite 680 (92-809833)
33
95
2-4-C With Teflon (92-825407A12)
GM Silicone Sealer (92-91600-1)
109
4
5
6
18
21
19

Table of Contents

Related product manuals