EasyManua.ls Logo

Mariner 150 OPTIMAX - Page 411

Default Icon
490 pages
Print Icon
To Next Page IconTo Next Page
To Next Page IconTo Next Page
To Previous Page IconTo Previous Page
To Previous Page IconTo Previous Page
Loading...
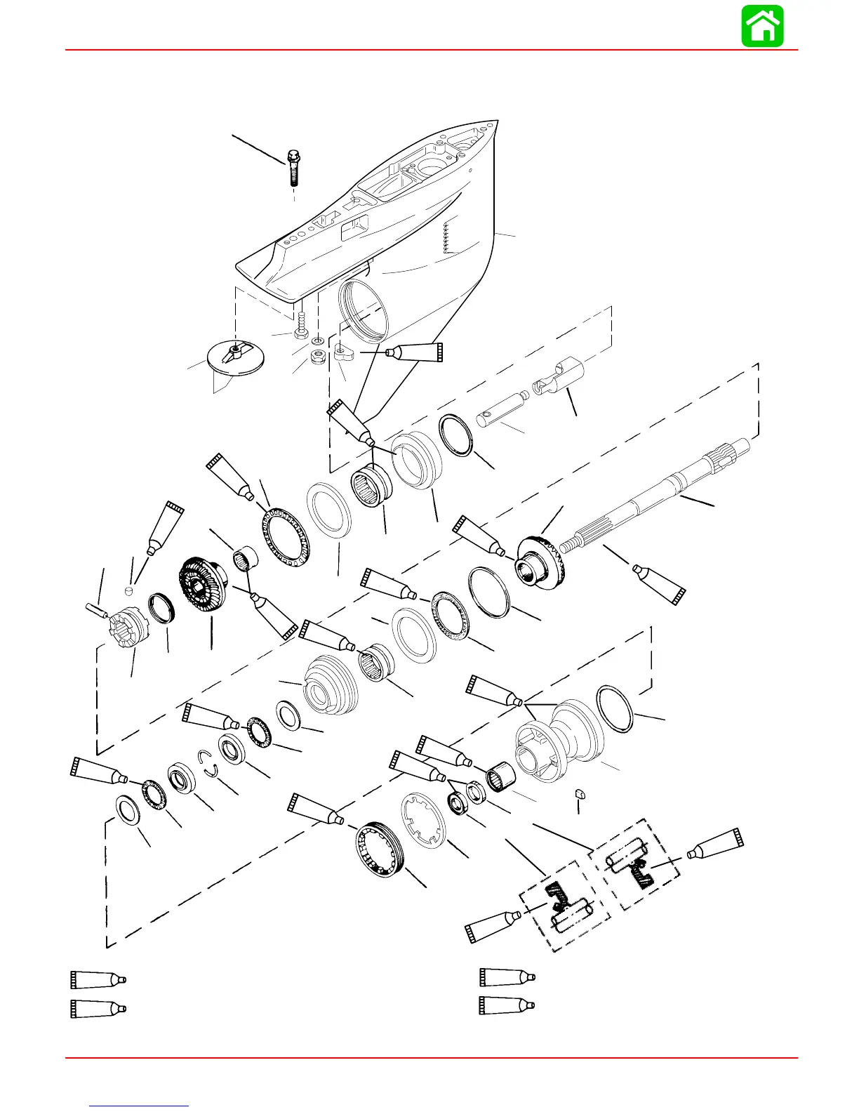
LEFT HAND NON-RATCHETING
Page 6B-10 90-855347R1 JANUARY 1999
Gear Housing (Prop Shaft)(Counter Rotation)
1
68
69
70
71
72
73
74
75
76
77
78
79
80
81
82
83
84
85
86
87
88
74
73
72
95
87
87
95
87
87
87
87
94
95
87
7
95
95
95
87
87
4.75 IN./120.65 MM
TORPEDO DIA.
7
Loctite 271 (92-809820)
87
Quicksilver Gear Lubricant (92-19007A24)
94
Anti-Corrosion Grease (92-78376A6)
95
2-4-C With Teflon (92-825407A12)
51
52
53
54
55
56
57
58
59
60
61
62
63
64
65
66
67

Table of Contents