EasyManua.ls Logo

marposs M32A - Manual MIDA TOOL EYE Arm Cycle Diagram (Enable P.O. =TRUE)

marposs M32A
26 pages
Print Icon
To Next Page IconTo Next Page
To Next Page IconTo Next Page
To Previous Page IconTo Previous Page
To Previous Page IconTo Previous Page
Loading...
- User Manual
13
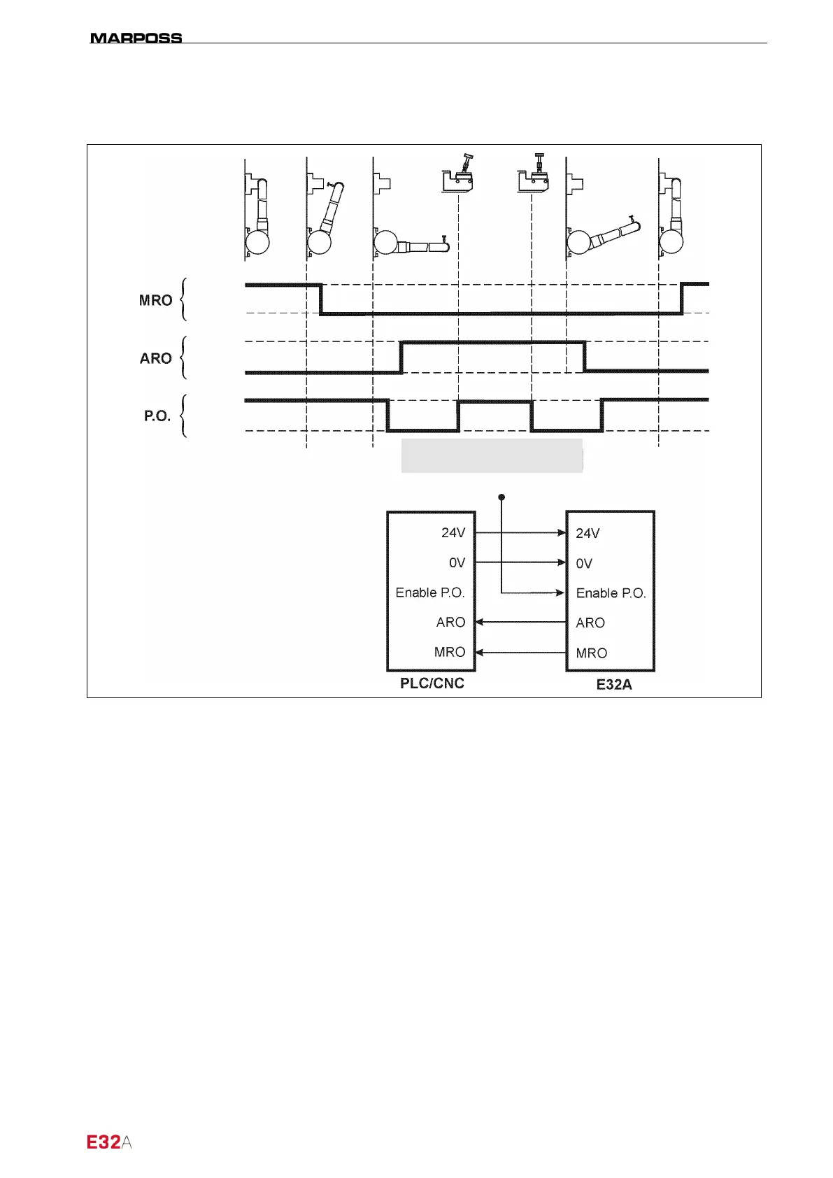
3.1.3 Manual MIDA TOOL EYE arm cycle diagram (Enable P.O. =TRUE)
Figure 3-3. Enable output MODE 1 operating cycle diagram.
FALSE
FALSE
FALSE
TRUE
TRUE
TRUE
ARO
= Arm ready for measurement
MRO
= Arm at rest
P.O.
= PROBE OUTPUT
Probe enabled
(measurement cycle)
TRUE