EasyManua.ls Logo

MAXA 2600 W - Page 58

MAXA 2600 W
Print Icon
To Next Page IconTo Next Page
To Next Page IconTo Next Page
To Previous Page IconTo Previous Page
To Previous Page IconTo Previous Page
Loading...
58
4. TÉLÉCOMMANDE
Contrôle de la direction du flux d’air
Le flux d'air vertical est automatiquement régulé sur un angle particulier en concordance avec le mode de fonctionnement aps l'allu-
mage de l'uni.
Note: La direction du flux d'air peut aussi être régue en appuyant sur la touche " " dans la commande.
* Contrôle vertical du flux d'air (avec la télécommande)
On utilise la télécommande pour ajuster le flux d'air sur divers angles ou sur un angle particulier prable.
Oscillation du flux d'air
Lors du démarrage, le déflecteur prend une position prédéterminée. Pour régler la direction du flux d'air
qui sort de l'unité intérieure appuyer sur la touche " ". En appuyant une fois le déflecteur continue à bouger en mélangeant l'air
dans la pièce. Une deuxième pression de la touche " ", bloque le déflecteur
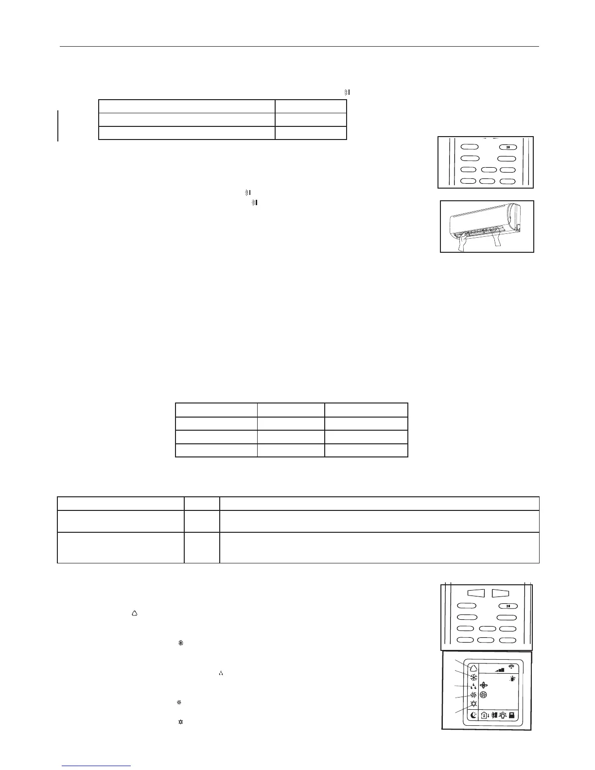
* Contle horizontal du flux d'air (avec les mains)
On tient avec les mains les barres de régulation horizontale des ailettes pour changer le flux d'air
comme indiqué dans la figure.
Notes:
- La figure de l'unité peut sembler différente de celle du climatiseur que vous aviez acquis.
- Ne pas tourner manuellement l'ailette de régulation verticale pour éviter des mal fonctionnements. Si cela arrive, éteindre
l'unité d'abord et détacher l'alimentation, puis reconnecter de nouveau l'alimentation.
- Il est conseillable de ne pas laisser l'ailette verticale s'incliner vers le bas durant le temps de refroidissement ou en déshumidifi-
cation pour empêcher la formation de la condensée.
FUNZIONAMENTO AUTO
Durante il funzionamento AUTO, l’unità seleziona automaticamente HEAT, DRY, FAN, COOL in base alla temperatura ambiente.
Attivazione della modalità AUTO:
Prima selezionare sul telecomando la modalità AUTO mediante il tasto MODE.
La modali di funzionamento e la temperatura di impostazione sono funzione della temperatura ambiente secondo la seguente tabella.
FONCTIONNEMENT EN MODE AUTO
Durant le fonctionnement AUTO, l'unité lectionne automatiquement HEAT, DRY, FAN, COOL en fonction de la température intérieure.
gulation du mode AUTO :
Allumer le climatiseur, puis lectionner le mode AUTO sur la télécommande en appyant sur la touche MODE.
La sélection automatique du mode de fonctionnement et la température sont détermies en foction de la temrature inrieure
selon le tableau suivant:
REMARQUE:
- En mode AUTO la température n'est pas affichée.
- Il peut arriver que l'appareil ne délivre pas d'air pendant qu'il est en marche.
- L'appareil ne commence pas toujours à fonctionner immédiatement après avoir modifié le mode de travail.
SELECTION DU MODE DE FONCTIONNEMENT
Appuyer sur la touche "MODE" pour sélectionner le mode de fonctionnement désiré en choisissant
parmi les suivants: AUTO - COOL - DRY - FAN - HEAT.
1) Mode AUTO: pour sélectionner cette fonction, appuyer sur la touche "MODE" jusqu l'apparition sur
écran de l'indicateur . Le climatiseur finit automatiquement le mode de fonctionnement (HEAT, DRY,
FAN, COOL) selon la temrature ambiante.
2) Mode Refroidissement: pour sélectionner cette fonction, appuyer sur la touche "MODE" jusqu'à l'ap-
parition sur écran de l'indicateur . L'unité commence à fonctionner si la température programmée est
plus basse que la température ambiante.
3) Mode DRY - déshumidification: pour sélectionner cette fonction, appuyer sur la touche "MODE"
jusqu'à l'apparition sur écran de l'indicateur . L'unité commence à fonctionner en mode refroidissement
pour atteindre rapidement la température ambiante désirée.
4) Mode FAN - ventilation: pour sélectionner cette fonction, appuyer sur la touche "MODE" jusqu'à l'ap-
parition sur écran de l'indicateur ; le mode FAN permet la circulation automatique de l'air dans la pièce.
5) Mode HEAT -chauffage: pour sélectionner cette fonction, appuyer sur la touche "MODE" jusqu'à l'ap-
parition sur écran de l'indicateur . L'unité commence à fonctionner si la température programmée est
plus haute que la température ambiante.
FA
N
CLO
CK
TI
MER
OF
F
TIMER
ON
L
IGH
T
SL
EEPT
URBO
ON/OFF
MO
DE
BLOW
T
EMP
+
-
E
Temp. intérieure Opération Température désirée
Inférieure à 21°C
Chauffage
18°C
21°C ~ 24°C
Ventilation
/
Supérieure à 24°C Refroidissement
25°C
Impression
Touche
Procédure de régulation
Non confortable à cause du volume
inadéquat du flux d’air
FAN
La vitesse du ventilateur de l’unité intérieure s’alterne entre haute, moyenne e basse vitesse
chaque fois cette touche vient appuyée.
Non confortable à cause du la direc-
tion inadéquat du flux d’air
SWING
En appuyant cette touche une seule fois, l’ailette du flux d’air verticale oscille pour changer la direction
du flux d’air. En appuyant de nouveau la même touche l’oscillation de l’ailette s’arrête.
Pour la direction horizontale du flux d’air, voir la page précédente.
Mode de fonctionnement
Direction de flux
REFROIDISSEMENT, DESHUMUDIFICATION Horizontale
* CHAUFFAGE, VENTILATION Vers le bas

Related product manuals