EasyManua.ls Logo

MAXA MI26A - Utilizzo del Telecomando

MAXA MI26A
Print Icon
To Next Page IconTo Next Page
To Next Page IconTo Next Page
To Previous Page IconTo Previous Page
To Previous Page IconTo Previous Page
Loading...
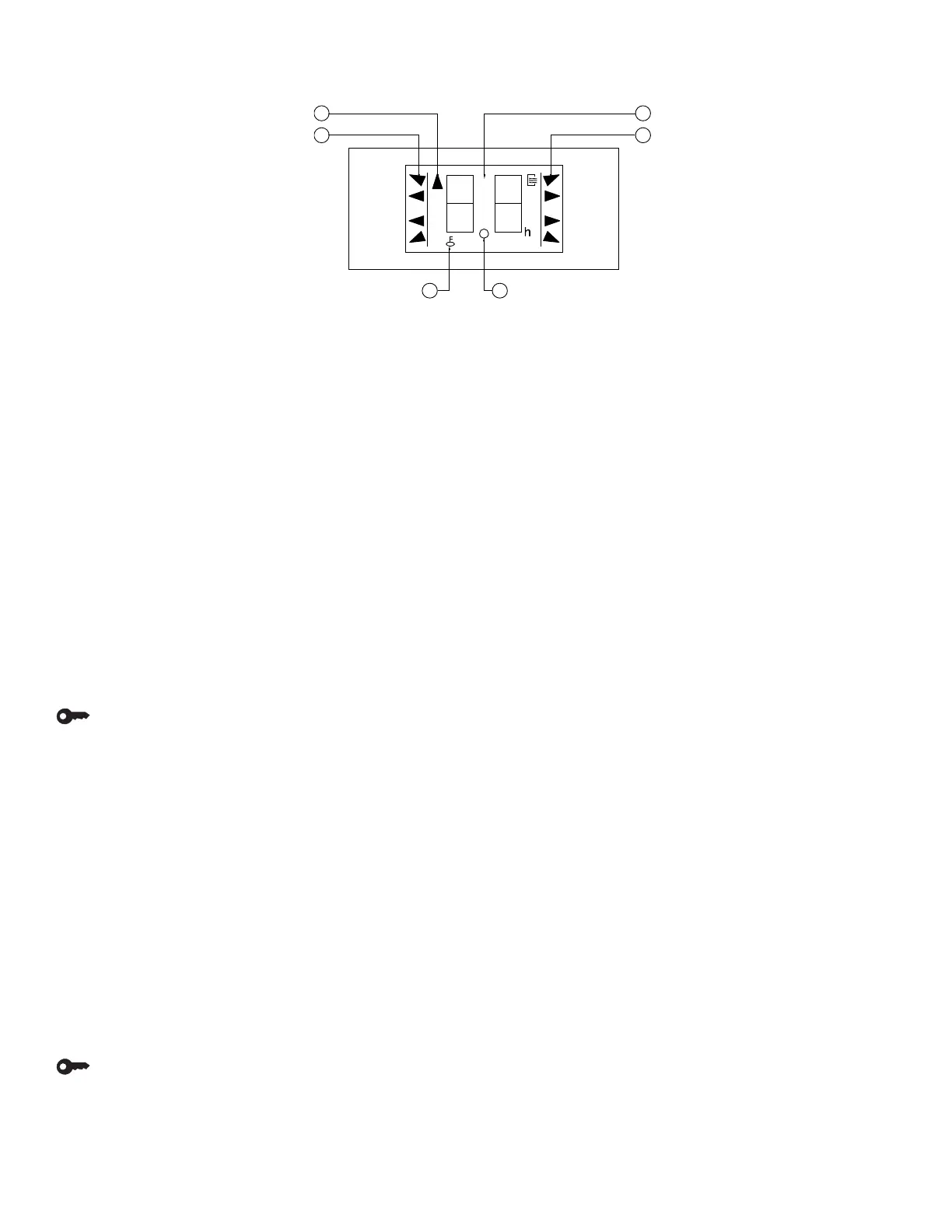
4.4. Nomi e funzioni degli indicatori sul display del telecomando
Display Telecomando
AUTO
COOL
DRY
HEAT
1
6
2
3 4
5
FAN
HIGH
MED
LOW
Fig. 2
Indicatore di trasmissione: Questo indicatore lampeggia quando il telecomando sta inviando il segnale all’unit
à
i
nterna.
Indicatore MODE (modalità): Mostra la modalità attiva AUTO, COOL, DRY and HEAT. HEAT è attivabile solo per l
e
uni
tà in pompa di calore.
Indicatore LOCK (blocco) si attiva premendo il tasto LOCK. Premer LOCK nuovamente per disattivare l’indicazione.
Indicatore TIMER: Questa area mostra le impostazioni orarie. Se è impostata solo l’accensione programmata, verrà
mostrato l’orario di accensione. Se è impostato solo lo spegnimento programmato, sarà mostrata l’ora dello spegnimento.
Se sono attivi accensione e spegnimento programmati, saranno visualizzati gli orari di accensione e di spegnimento del
condizionatore.
Indicatore FAN (ventilatore): Quando si preme il tasto FAN, questo indicatore lampeggia.
Area Display: Questa zona mostrerà la temperatura impostata ed accensione e/o spegnimento programmati se attivati.
NOTA: Tutte le voci mostrate in figura 2 hanno validità generale.
4.5. Utilizzo del telecomando
Installazione / Sostituzione batterie
Il telecomando ha bisogno di 2 batteria alcaline.
1.
P
er installare le batterie, togliere il coperchio sulla parte posteriore ed inserire le batterie con la polarità orientata
correttamente.
2. Per sostrituire le batterie in maniera analoga.
NOTE:
1. Quando si sostituiscono le batterie, non utilizzare batterie vecchie, potrebbero causare un scorretto funzionamento del
telecomando.
2.
S
e non si usa iul telecomando per diverse settimane, togliere le batterie, altrimenti si potrebbero esaurire e/o daneggiare
e rendere inutilizzabile il telecomado.
3.
La
durata media delle batterie e di circa 6 mesi.
4.
S
ostiutire le batterie quando nessun “Beep” viene emesso dall’unità interna dopo che si è tentato di inviarle un comando
,
o qu
ando non si vedono indicazioni sul display del telecomando.
Funzionameanto automatico
Quando il condizionatore è pronto per l’uso, dare tensione e verificare che gli indicatori del display dell’unità interna
lampeggino.
1. Premendo il tasto MODE selezionare la modalità AUTO. Nei Multi-Sistemi, per evitare conflitto di modalità, la modalità
6

Table of Contents

Related product manuals