EasyManua.ls Logo

Metos CHEF 220 - Control Panel Switches

Metos CHEF 220
90 pages
Print Icon
To Next Page IconTo Next Page
To Next Page IconTo Next Page
To Previous Page IconTo Previous Page
To Previous Page IconTo Previous Page
Loading...
7.7.2008 Rev. 3.0
Functional description
4
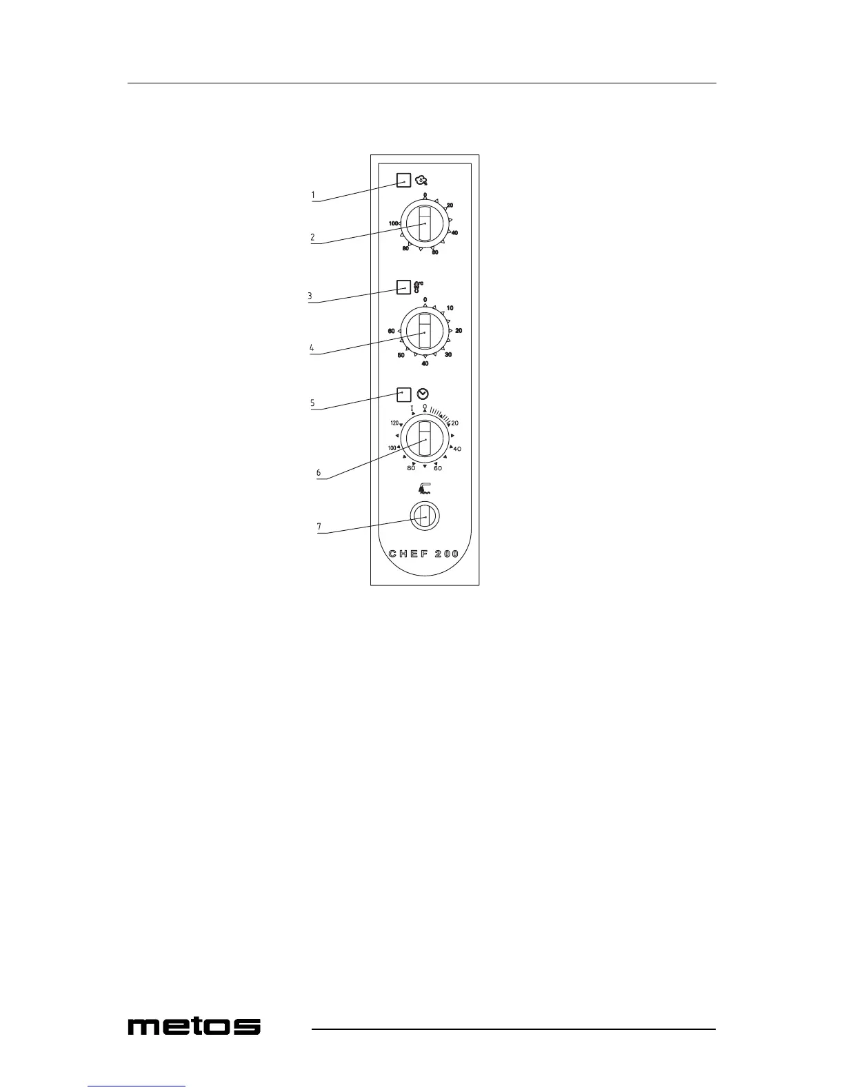
3.3.1 Control panel switches
Control panel switches Chef 200
1. Moistening lamp. The yellow lamp is always on when the water basin’s
heating element is on. The lamp goes out when the temperature required by
the humidity-% has been reached.
2. Moistening device. Moisture is continuously added when the desired mois-
ture-% is selected by turning the switch knob clockwise.
3. Thermostat lamp. The yellow lamp is on when the heating element is on.
4. Thermostat switch. To set the temperature between +20ºC and +60ºC.
5. Proving cabinet on lamp. The green lamp is on when the proving cabinet is
switched on.
6. Timer. Stepless control 0-120 minutes or continuous use I.
7. Water basin filling switch. Water flows into the water basin as long as the
switch is turned in a clockwise direction. The basin capacity is approx. 1,2 l.

Table of Contents

Related product manuals