EasyManua.ls Logo

Miele DG 6401 - Installation in a Tall Unit in Combination with an Oven

Miele DG 6401
116 pages
Print Icon
To Next Page IconTo Next Page
To Next Page IconTo Next Page
To Previous Page IconTo Previous Page
To Previous Page IconTo Previous Page
Loading...
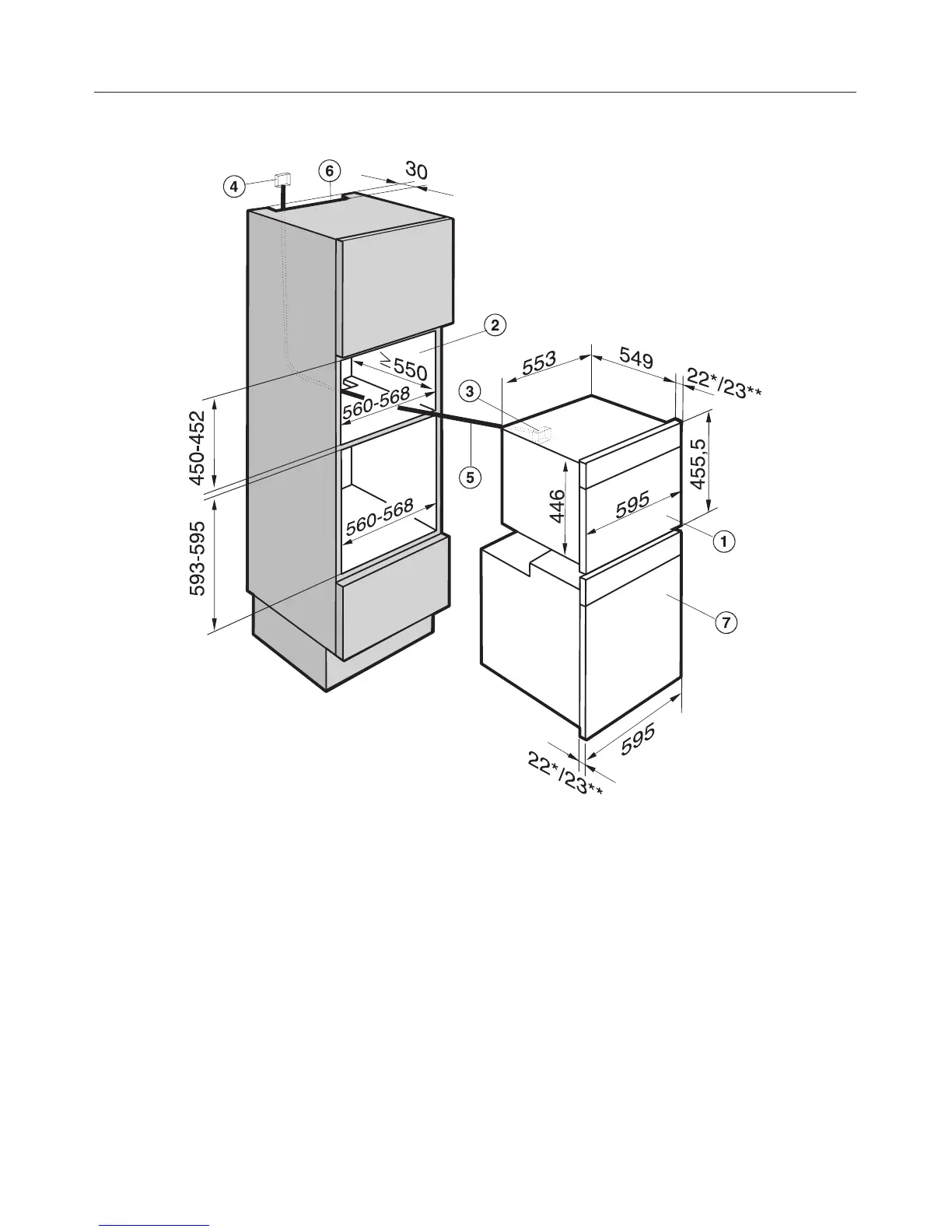
Installation in a tall unit in combination with an oven
* Appliances with glass front
** Appliances with metal front
a Built-in steam oven
b Building-in niche
c Inlet for mains connection cable to the appliance
d Recommended position for electrical socket. Important: Do not position behind
the appliance!
e Mains connection cable
f Ventilation cut-out for installation in combination with a pyrolytic oven
g Oven
Appliance and building-in dimensions
107

Table of Contents

Related product manuals