EasyManua.ls Logo

Miele DG7140 - Controls

Miele DG7140
112 pages
Print Icon
To Next Page IconTo Next Page
To Next Page IconTo Next Page
To Previous Page IconTo Previous Page
To Previous Page IconTo Previous Page
Loading...
Controls
17
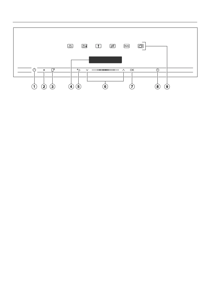
a
Recessed On/Off control
For switching the steam oven on and
off
b
Optical interface
(For Miele Service only)
c
sensor control
For controlling the steam oven via
your mobile device
d
Display
For displaying the time of day and
information on operation
e
sensor control
For going back a step and cancelling
a cooking programme
f
Navigation area with andarrow
buttons
For scrolling through lists and for
changing values
g
OKsensor control
For selecting functions and saving
settings
h
sensor control
For setting a minute minder, the
cooking duration or the start or end
time for the cooking programme
i
Sensor controls
For selecting functions, automatic
programmes and settings

Table of Contents

Related product manuals